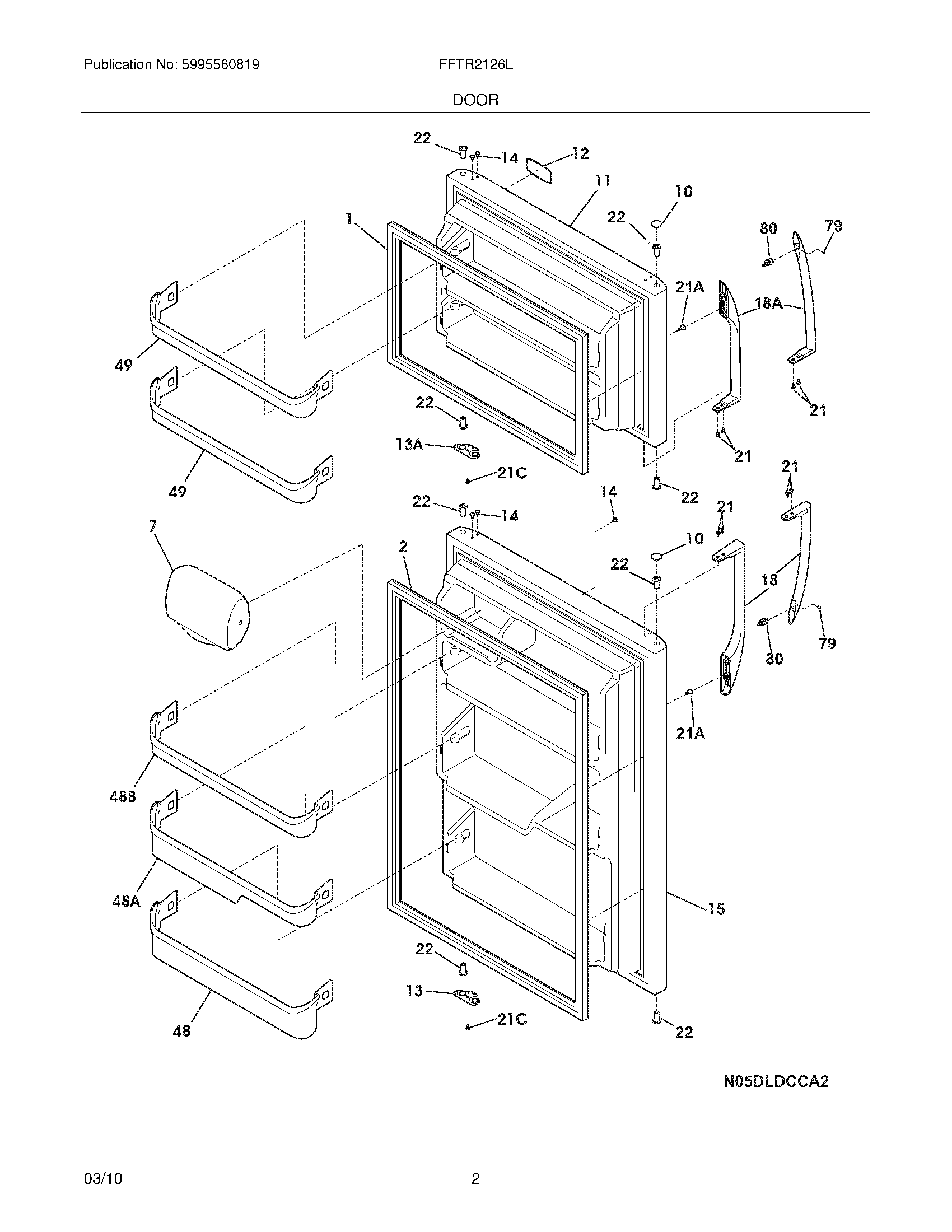
FFTR2126LB0 03 – DOOR