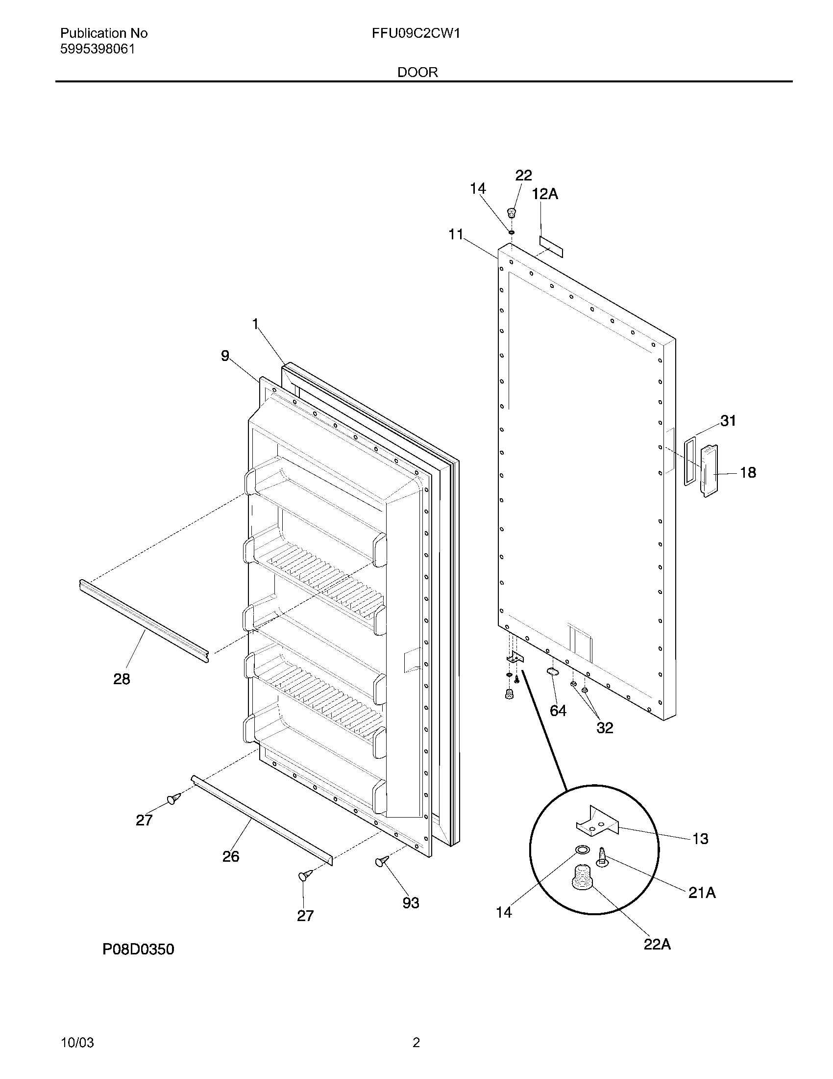
FFU09C2CW1 03 – DOOR