| NI | 5304406520 Frigidaire Refrigerator Clip 40 Pack |
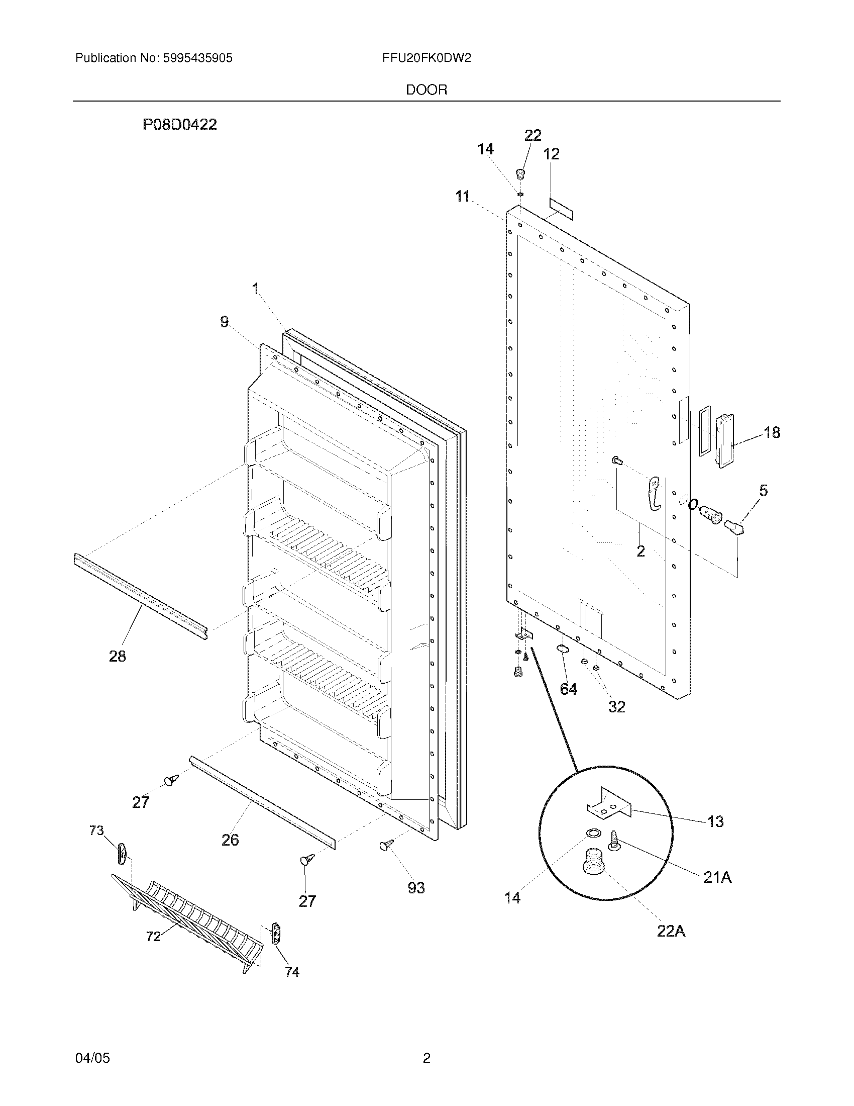
| 1 | 5304507199 Frigidaire Refrigerator Door Gasket White |
| 2 | WCI 5303925107 |
| 5 | 297147700 Frigidaire Freezer Plastic Door Key |
| 9 | 216528113 Frigidaire Refrigerator Inner Door Panel OS3 |
| 11 | WCI 216531200 |
| 12 | WCI 216892800 |
| 13 | DOOR STOP |
| 14 | WCI 5303313518 |
| 18 | WCI 297034200 |
| 21A | Screw,door stop mtg ,4.0 x 0.7-19.7 ,flat hd,metric |
| 22 | 216970802 Frigidaire Refrigerator/Freezer Top Hinge Bearing |
| 22A | 297006800 Frigidaire Refrigerator Bearing Hinge |
| 26 | 216524201 Frigidaire Refrigerator Gasket |
| 27 | 5303212828 Frigidaire Refrigerator Primary Clip |
| 28 | 216951600 Frigidaire Door Rack Refrigerator |
| 32 | Valve,breather ,door base |
| 64 | WCI 216403700 |
| 72 | SHELF,TILT OUT ,WIRE |
| 73 | 216513900 Frigidaire Refrigerator End Cap |
| 74 | 216514000 Frigidaire Refrigerator End Cap |
| 93 | 216858001 Frigidaire Refrigerator Screw |