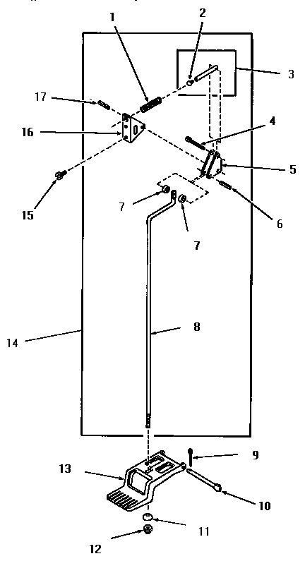
FG3070 04 – DOOR RELEASEadmin2025-04-26T09:31:22+00:00FG3070 04 – DOOR RELEASE ProductsPositionProduct1MAY 510652MAY 517863MAY 518415MAY 510417MAY 511218MAY 518379MAY 0257810MAY 5104511MAY 5104612MAY 5127113MAY 5180214MAY 5184415MAY 5124616MAY 5105217MAY 51161