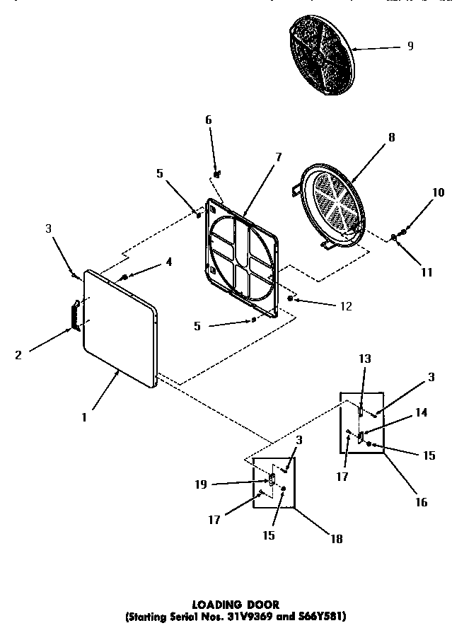
FG3331 19 – LOADING DOORadmin2025-04-26T09:29:51+00:00FG3331 19 – LOADING DOOR ProductsPositionProduct1MAY 52197W1MAY 52197H1MAY 52197C1MAY 52197A2MAY 540683MAY 528644MAY 521505MAY 528656MAY 546617MAY 546658MAY 547319MAY 5300210MAY 2468811MAY Q627512MAY 5256615MAY 5123617MAY 2264918SEE NOTE GROUND WIRE, GREEN19MAY 70014