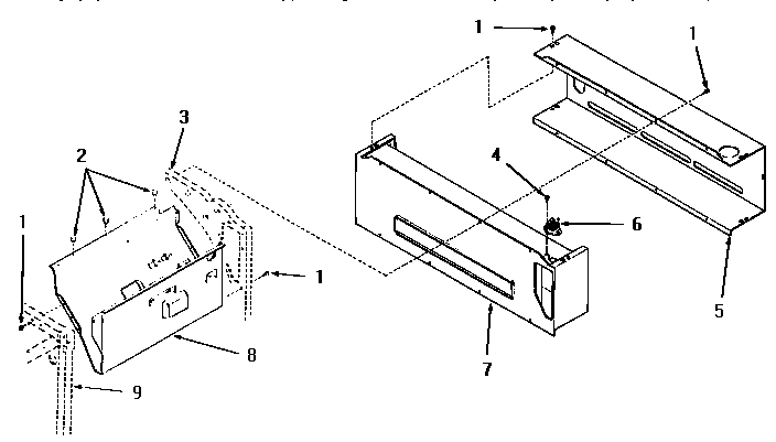
FG3860 09 – HEATER BOX
Products
| Position | Product |
|---|---|
| 1 | MAY 51784 |
| 2 | MAY 52552 |
| 4 | WP3177991 Whirlpool Screw |
| 5 | MAY Y51862 |
| 6 | MAY 51185 |
| 7 | MAY 54717 |
| 8 | MAY Y52584 |
| 9 | SEE NOTE GROUND WIRE, GREEN |
FG3860 09 – HEATER BOX
| Position | Product |
|---|---|
| 1 | MAY 51784 |
| 2 | MAY 52552 |
| 4 | WP3177991 Whirlpool Screw |
| 5 | MAY Y51862 |
| 6 | MAY 51185 |
| 7 | MAY 54717 |
| 8 | MAY Y52584 |
| 9 | SEE NOTE GROUND WIRE, GREEN |