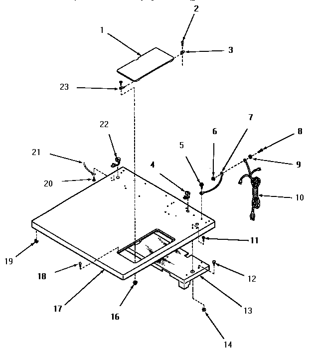
FG3861 01 – CABINET TOP