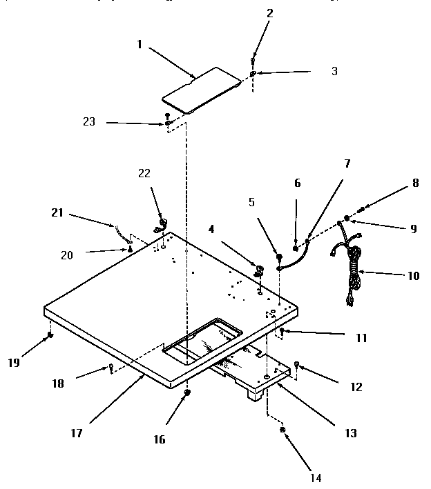
FG3871 01 – CABINET TOPadmin2025-04-26T09:31:27+00:00FG3871 01 – CABINET TOP ProductsPositionProduct1MAY 52518W1MAY 52518H1MAY 52518C1MAY 52518A2MAY 036303MAY 513514MAY 219036MAY 239517MAY 543008MAY 202679MAY 0381510MAY 5150811MAY 0320312MAY 5135513MAY 5261414MAY 5123616MAY 2267817MAY 52503H17MAY 52503C17MAY 52503A17MAY 52503W18MAY 5344519MAY 2300720MAY 5192421SEE NOTE GROUND WIRE, GREEN22MAY 5211323MAY 51350