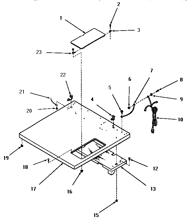
FG4241 01 – CABINET TOPadmin2025-04-26T09:31:25+00:00FG4241 01 – CABINET TOP ProductsPositionProduct1MAY 55868A1MAY 55868C1MAY 55868H1MAY 55868W2MAY 036303MAY 513514MAY 219036MAY 239517MAY 543008MAY 202679MAY 0381510MAY 5150812MAY 5135513MAY 5261415MAY 5598516MAY 2267817MAY 55867H17MAY 55867C17MAY 55867A17MAY 55867W18MAY 5344519MAY 2300720MAY 5192421SEE NOTE GROUND WIRE, GREEN22MAY 5211323MAY 51350