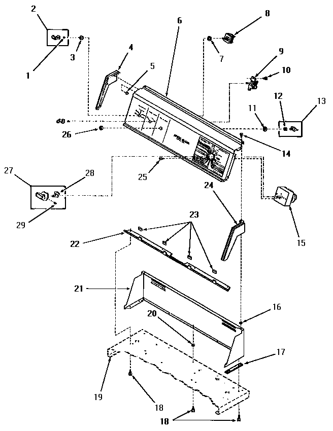
FG4241 03 – CONTROL PANEL, CONTROL HOOD AND CONTROLSadmin2025-04-26T09:31:12+00:00FG4241 03 – CONTROL PANEL, CONTROL HOOD AND CONTROLS ProductsPositionProduct1MAY 233922MAY 268163MAY 242054MAY 251245MAY 251266MAY 00559647MAY 911768MAY 526239MAY 5351610WP90767 Whirlpool Screw11MAY 2582013MAY 5588214MAY 2523215MAY 5346616MAY 2452217MAY 2302818MAY 5598519SEE NOTE GROUND WIRE, GREEN20MAY 2342521MAY 55906A21MAY 55906H21MAY 55906W22MAY 5291223MAY 2485924MAY 2512325MAY 7021226MAY 5294727MAY 5590028MAY 2428329MAY 20310