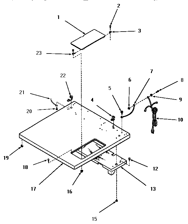
FG6211 01 – CABINET TOP