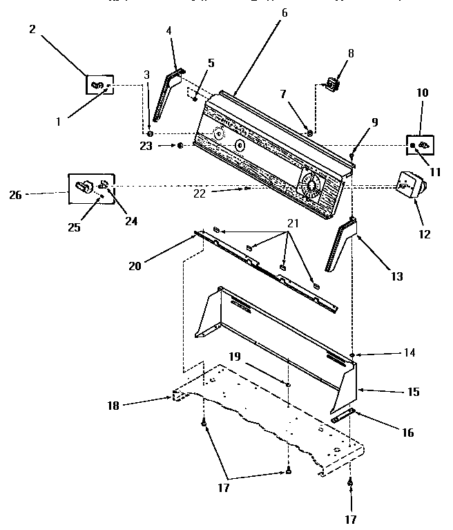
FG6291 03 – CONTROL PANEL, CONTROL HOOD AND CONTROLSadmin2025-04-26T09:31:21+00:00FG6291 03 – CONTROL PANEL, CONTROL HOOD AND CONTROLS ProductsPositionProduct1MAY 233922MAY 242913MAY 242054MAY 251245MAY 251266MAY 549857MAY 911768MAY 526239MAY 2523210MAY 5376812MAY 5261013MAY 2512314MAY 2452215MAY 53446A15MAY 53446H15MAY 53446W16MAY 2302817WP90767 Whirlpool Screw18SEE NOTE GROUND WIRE, GREEN19MAY 2342520MAY 5291221MAY 2485922MAY 7021223MAY 5294724MAY 2428325MAY 2031026MAY 24290