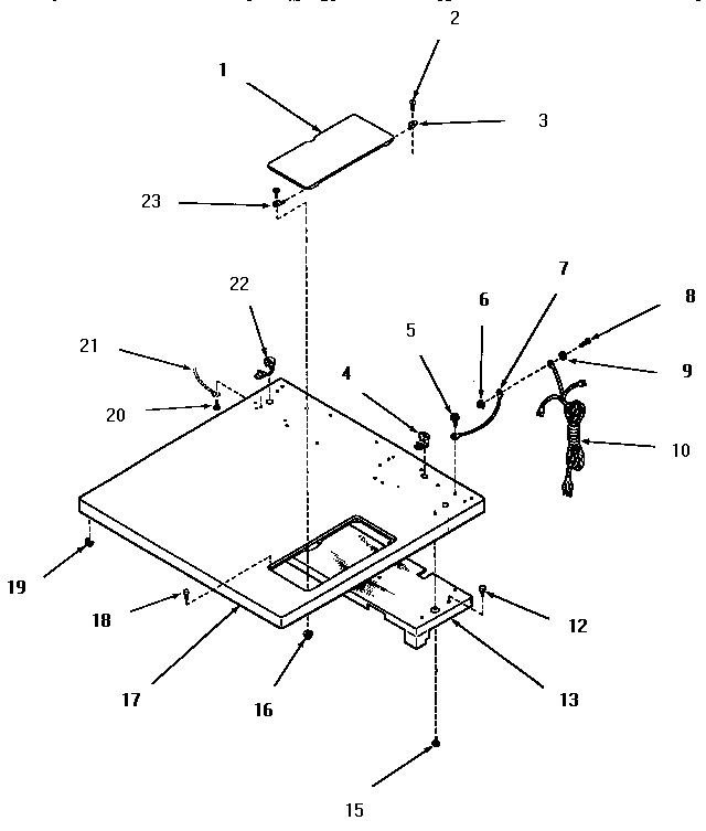
FG9031 02 – CABINET TOPadmin2025-04-26T09:31:04+00:00FG9031 02 – CABINET TOP ProductsPositionProduct1MAY 52518W1MAY 52518H1MAY 52518C1MAY 52518A2MAY 036303MAY 513514MAY 219036MAY 239517MAY 543008MAY 202679MAY 0381510MAY 5150812MAY 5135513MAY 5261415MAY 5598516MAY 2267817MAY 52503W17MAY 52503H17MAY 52503C17MAY 52503A18MAY 5344519MAY 2300720MAY 5192421SEE NOTE GROUND WIRE, GREEN22MAY 5211323MAY 51350