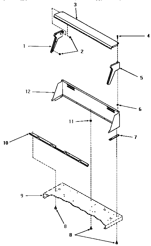
FG9031 04 – CONTROL HOOD
Products
| Position | Product |
|---|---|
| 1 | MAY 23367 |
| 2 | MAY 23409 |
| 3 | MAY 52921 |
| 4 | MAY 25232 |
| 5 | MAY 23368 |
| 6 | MAY 24522 |
| 7 | MAY 23028 |
| 8 | MAY 55985 |
| 9 | SEE NOTE GROUND WIRE, GREEN |
| 10 | MAY 52912 |
| 11 | MAY 23425 |
| 12 | MAY 53446W |
| 12 | MAY 53446H |
| 12 | MAY 53446C |
| 12 | MAY 53446A |