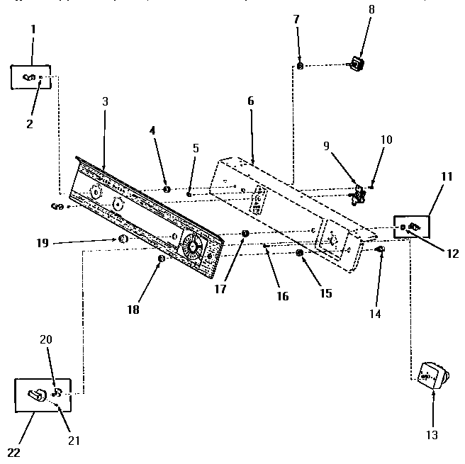
FG9031 05 – CONTROL PANEL AND CONTROLSadmin2025-04-26T09:30:11+00:00FG9031 05 – CONTROL PANEL AND CONTROLS ProductsPositionProduct1MAY 242912MAY 233923MAY 535244MAY 243915MAY 234076SEE NOTE GROUND WIRE, GREEN7MAY 911768MAY 526239MAY 5351610WP90767 Whirlpool Screw11MAY 5356312MAY 5294713MAY 5346614MAY 2340115MAY 2340016MAY 7021217MAY 2340618MAY 2339919MAY 2313020MAY 2428321MAY 2031022MAY 24290