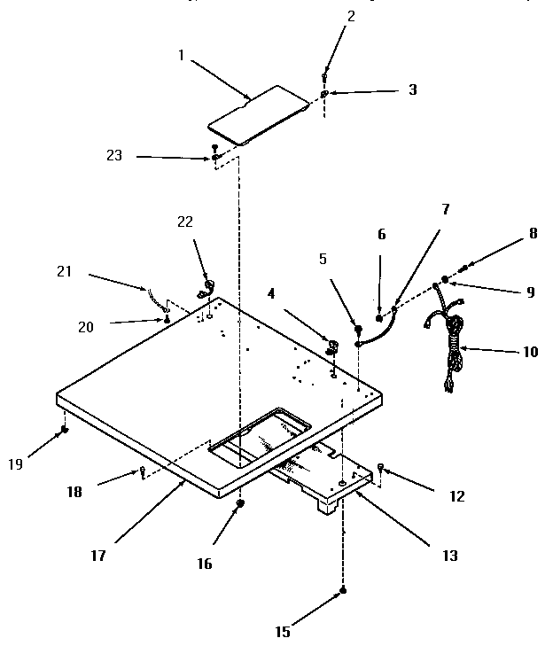
FG9181 01 – CABINET TOPadmin2025-04-26T09:28:30+00:00FG9181 01 – CABINET TOP ProductsPositionProduct1MAY 55905A1MAY 55905C1MAY 55905H1MAY 55905W2MAY 036303MAY 513514MAY 219036MAY 239517MAY 543008MAY 202679MAY 0381510MAY 5150812MAY 5135513MAY 5261415MAY 5598516MAY 2267817MAY 55904H17MAY 55904C17MAY 55904A17MAY 55904W18MAY 5344519MAY 2300720MAY 5192421SEE NOTE GROUND WIRE, GREEN22MAY 5211323MAY 51350