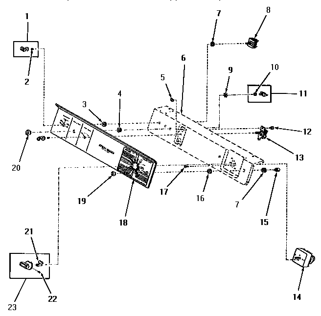
FG9181 04 – CONTROL PANEL AND CONTROLSadmin2025-04-26T09:30:19+00:00FG9181 04 – CONTROL PANEL AND CONTROLS ProductsPositionProduct1MAY 268162MAY 233923MAY 243914MAY 234065MAY 234076SEE NOTE GROUND WIRE, GREEN7MAY 911768MAY 526239MAY 2582010MAY 5294711MAY 5587812WP90767 Whirlpool Screw13MAY 5351614MAY 5346615MAY 2340116MAY 2340017MAY 7021218MAY 5587719MAY 2339920MAY 2313021MAY 2428322MAY 2031023MAY 55900