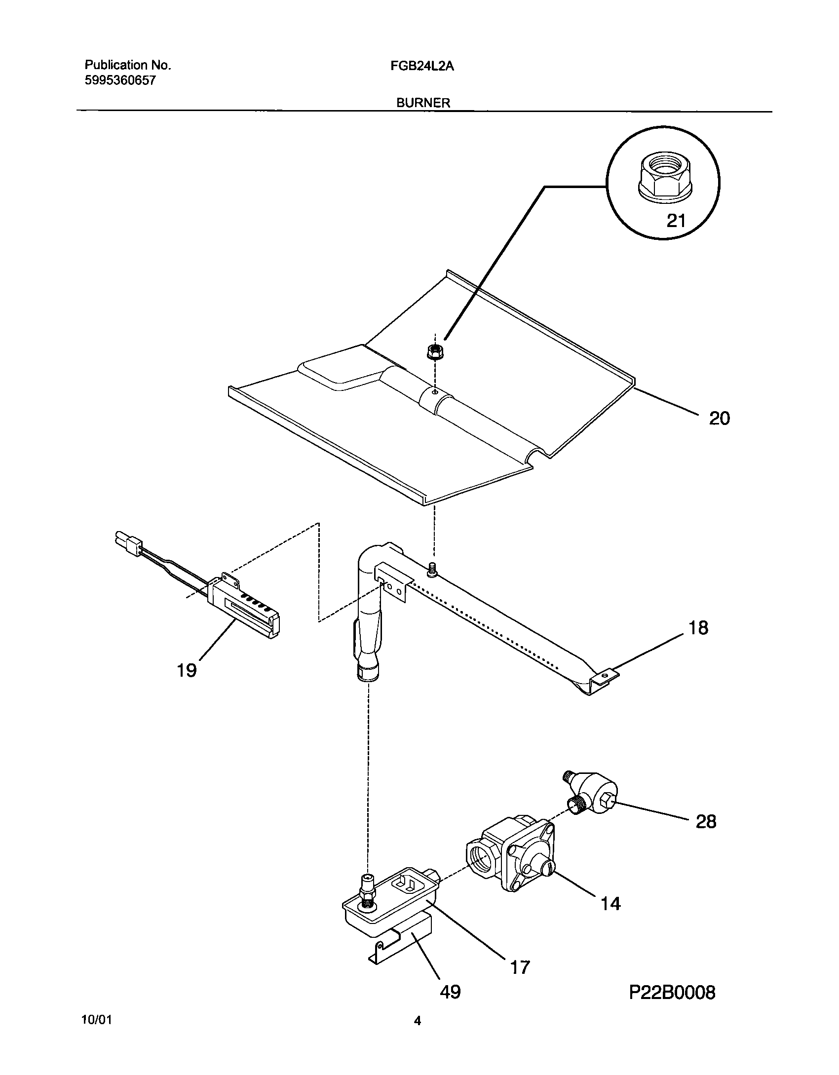
| NI | 08002868 Frigidaire 0 Screw Assembly |
| NI | WCI 5303311549 |
| 14 | Regulator,pressure |
| 17 | WCI 3203702 |
| 18 | 5303210787 Frigidaire Oven Burner |
| 19 | 5303935066 Frigidaire Oven Flat Igniter 17" Leads |
| 20 | WCI 3203676 |
| 21 | 5303013272 Frigidaire Oven Nut |
| 28 | WCI 5303295305 |
| 49 | WCI 5303308469 |