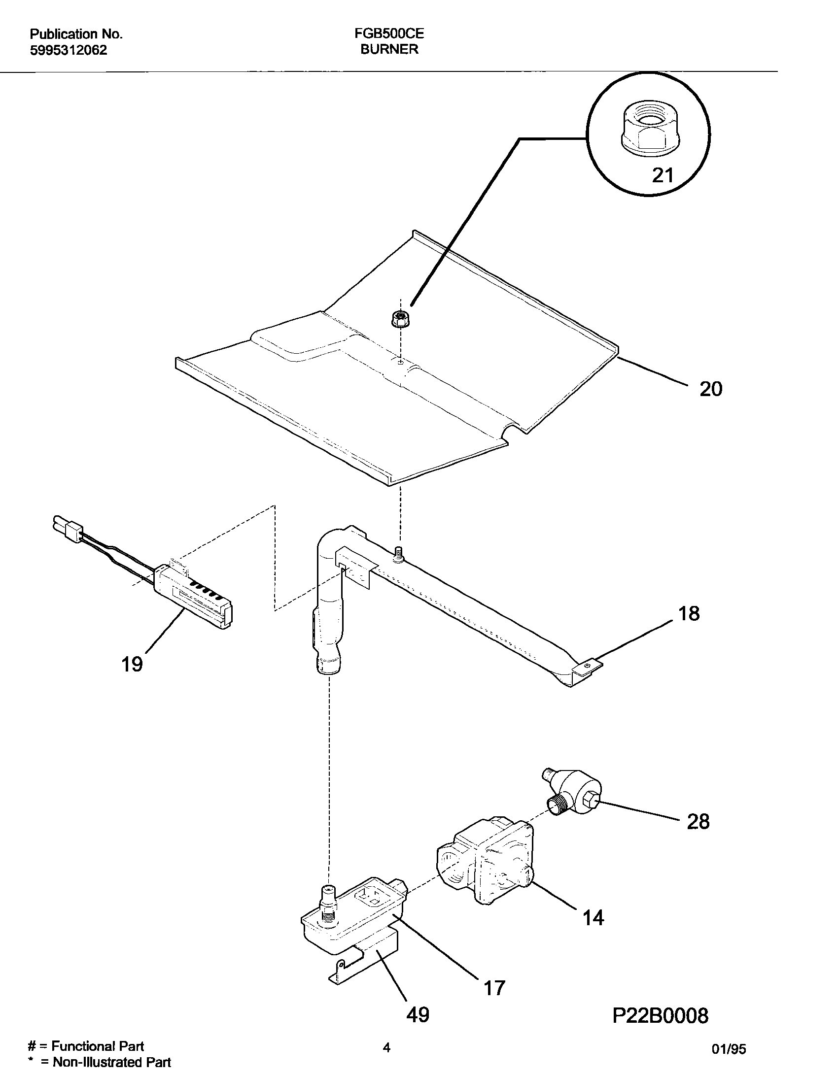
FGB500CESG 05 – BURNER