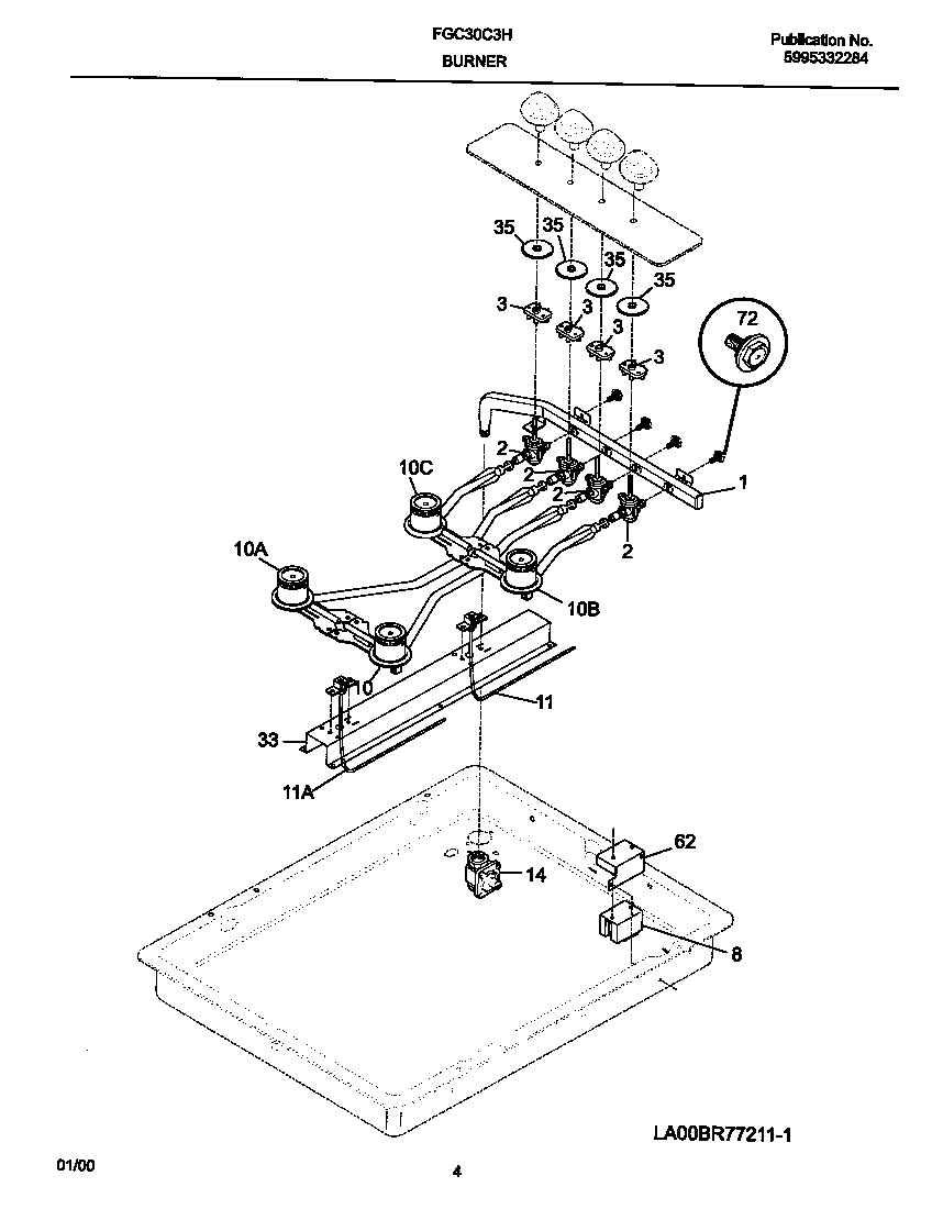
FGC30C3HDA 03 – BURNER