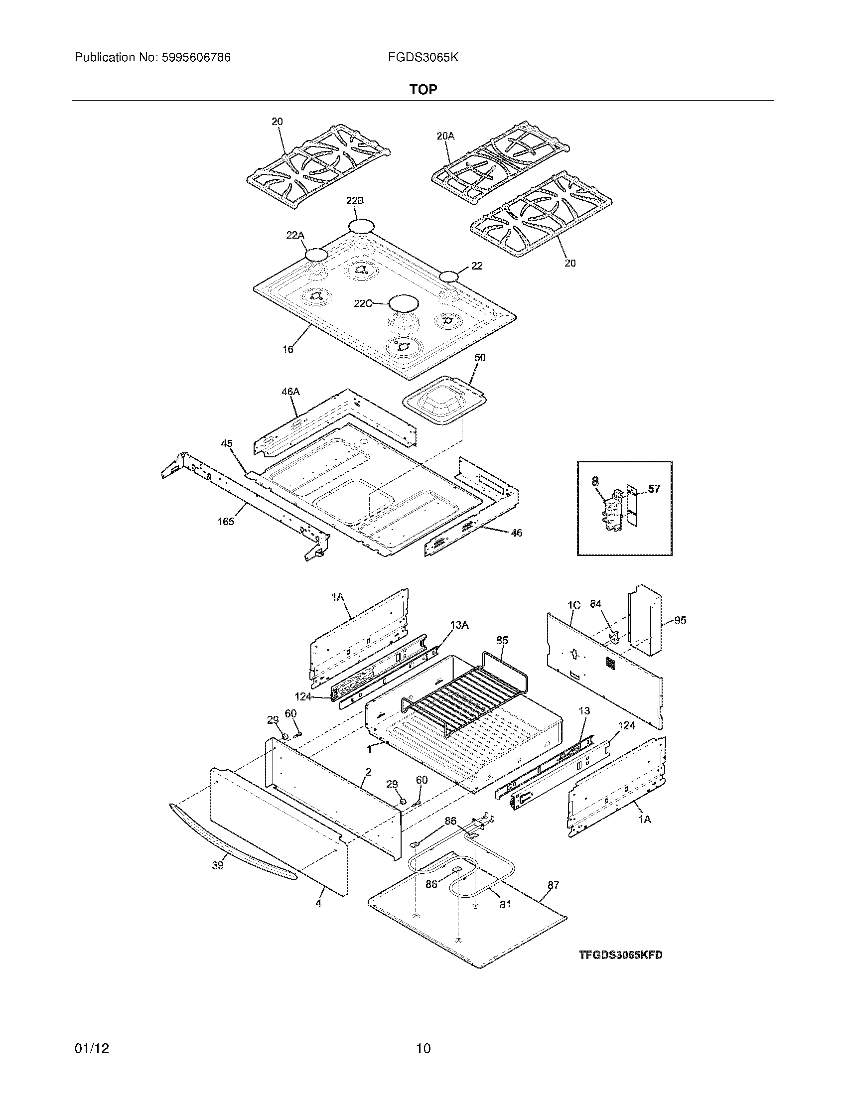
FGDS3065KBF 09 – TOP/DRAWERadmin2025-04-26T11:56:04+00:00FGDS3065KBF 09 – TOP/DRAWER ProductsPositionProductNI5303300265 Frigidaire Oven ScrewNI134716700 Frigidaire WasherNI5303307980 Frigidaire Oven ScrewNI5303211311 Frigidaire Refrigerator ScrewNI5303288565 Frigidaire Screw1WCI 3183044041CWCI 3183003011A318300003 Frigidaire Oven Panel2WCI 3183039074WCI 31829990885304505695 Frigidaire Oven Module13WCI 31825950913AWCI 31825950816MAINTOP ASSEMBLY, BLACK20A318560470 Frigidaire Oven Grate20318560460 Frigidaire Oven Grate22CAP22B5304508443 Frigidaire Oven Surface Burner Cap22A5304508442 Frigidaire Oven Surface Burner Cap22C5304508468 Frigidaire Oven Cap29318147430 Frigidaire Oven Bumper39WCI 31892740145WCI 31857870046AWCI 31856820146WCI 31856820050WCI 31857880257318295611 Frigidaire Panel605303311174 Frigidaire Oven Screw81318255301 Frigidaire Oven Element84318005108 Frigidaire Thermostat86316095800 Frigidaire Oven Clip87318300102 Frigidaire Oven Panel95WCI 318303800124316105501 Frigidaire P-1 Glide165WCI 318913300