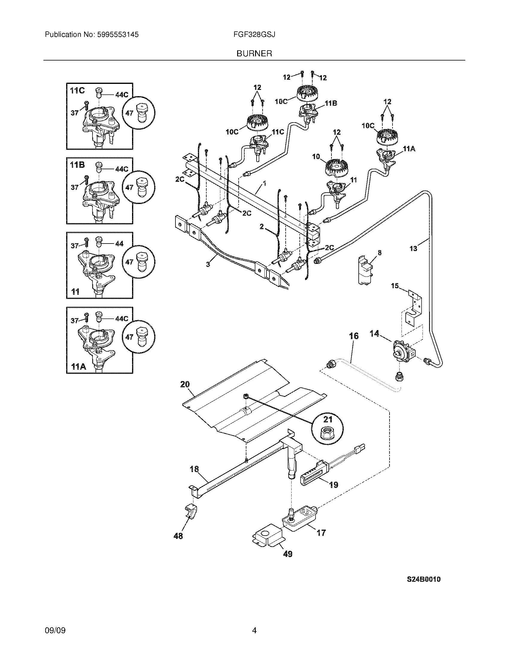
FGF328GSJ 05 – BURNER