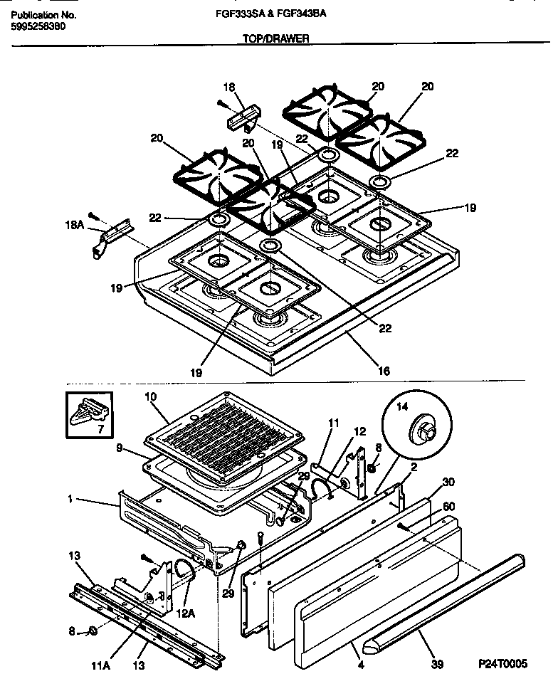
FGF333SADB 05 – TOP/DRAWERadmin2025-04-26T10:54:22+00:00FGF333SADB 05 – TOP/DRAWER ProductsPositionProduct1DRAWER-BROILER2WCI 32028034WCI 3160562064ASCREW, HEX WASHER HEAD, 8-18(AB) X 1/2 (NOT ILLUSTRATED)7GLIDE-DRAWER, REAR8WCI 31313869PAN-BROILER10WCI 530313135611BRACKET-BROILER HINGE, RH11ABRACKET-BROILER HINGE, LH12AWCI 3018618`12SPRING-BROILER, RH13WCI 313115314WCI 320621616BGUSSET-MTG (LH) (NON-ILLUSTRATED)16AGUSSET-MTG (RH) (NON-ILLUSTRATED)16WCI 530330154718HINGE-MAIN TOP (RH)18AHINGE-MAIN TOP (LH)18B131243700 Frigidaire Screw19WCI 31601140120WCI 31602540022WCI 31601100129PIN, HINGE (2)30INSULATION, BROILER DRAWER39WCI 31602610060WCI 5303288574