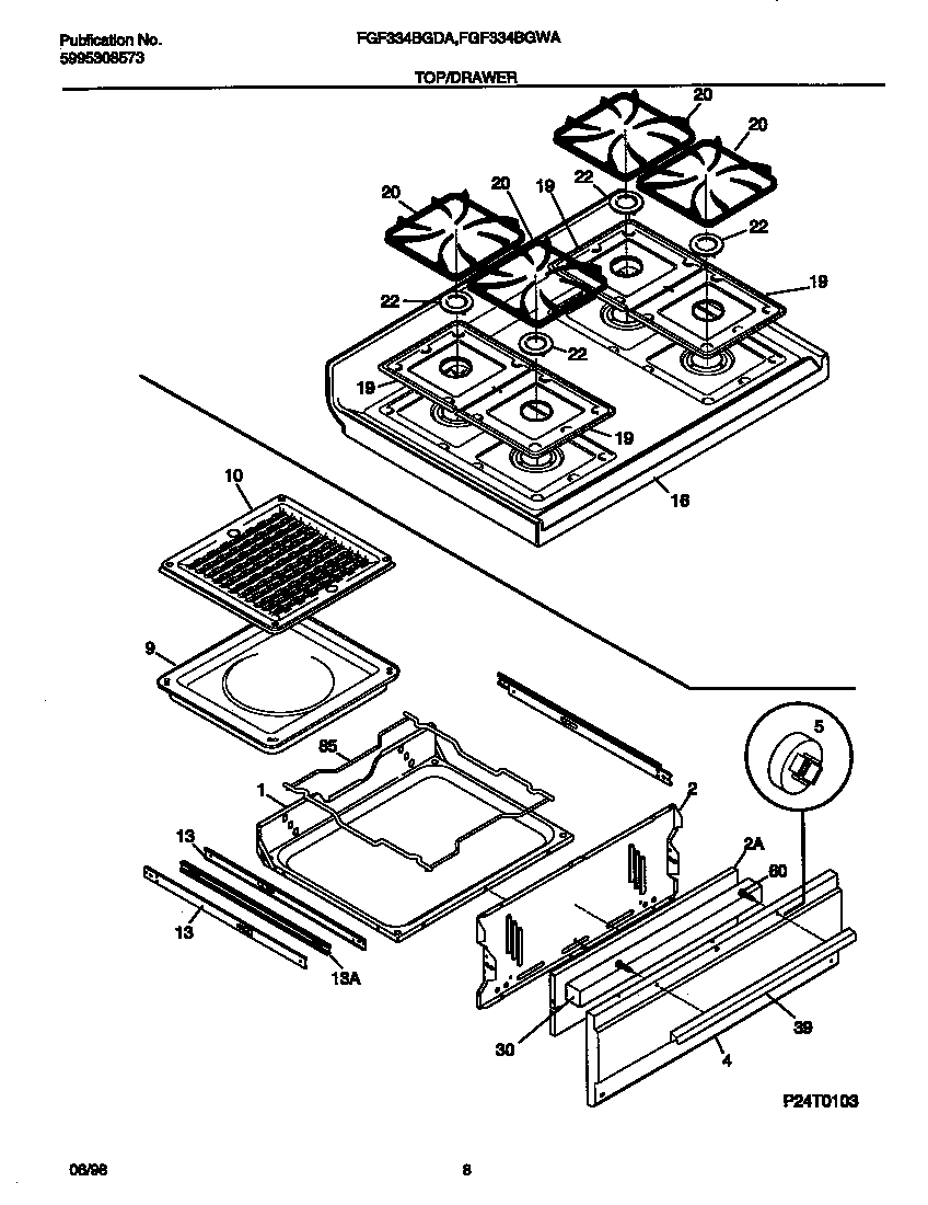
FGF334BGDA 05 – TOP/DRAWERadmin2025-04-26T10:54:57+00:00FGF334BGDA 05 – TOP/DRAWER ProductsPositionProduct*03339316021105 Frigidaire Oven Screw*03345WCI 5303280311*03341316021109 Frigidaire Oven Screw*03344316089500 Frigidaire Oven Screw*03340Screw,cup pt ,8-18 x 0.375 ,chrome1CARRIAGE,BROILER2WCI 3161101012WCI 3161108004WCI 3160562065FSTNR, SPACER (2)9PAN-BROILER10AWCI 530313135610BWCI 530328030813GLIDE-DRAWER,OUTER13WCI 31611160016WCI 530330154718WCI 31605920018WCI 31605920119WCI 31601140120WCI 31608520122CAP-BURNER,BLACK ,SMALL30WCI 31611140039WCI 31601950885WCI 316110500