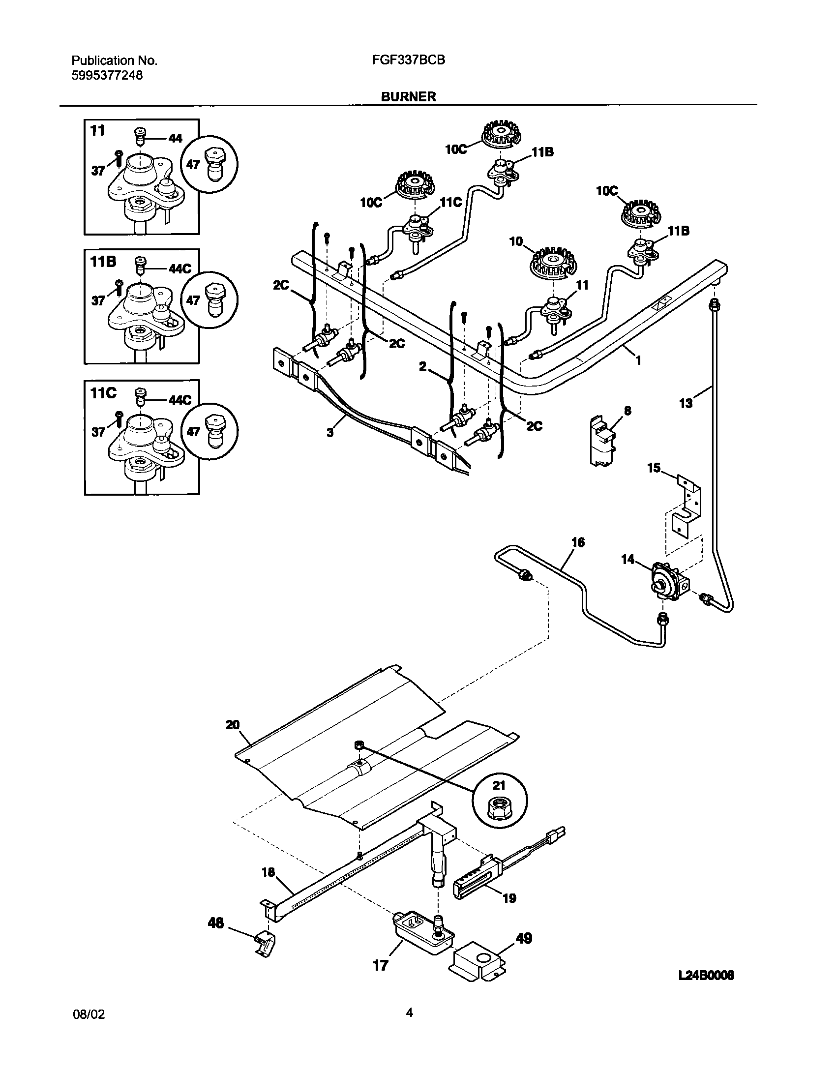
FGF337BCB 05 – BURNER