| NI | 316215600 Frigidaire Oven Screw |
| NI | WIRING HARNESS,IGNITOR MODU |
| NI | WCI 316566900 |
| NI | WCI 316443200 |
| NI | 5303271648 Frigidaire Oven Screw |
| NI | 316021105 Frigidaire Oven Screw |
| NI | 316417518 Frigidaire Instructions |
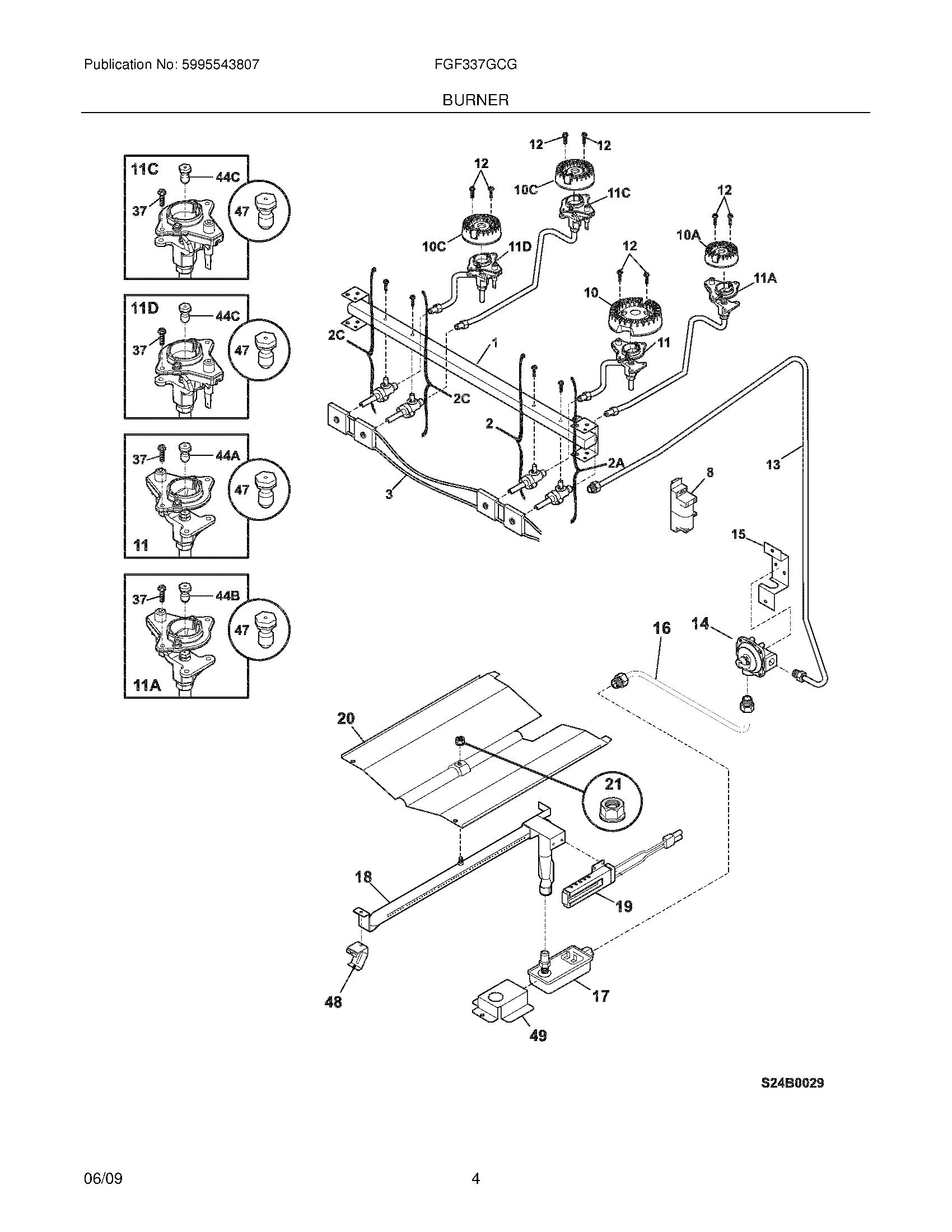
| 1 | 316417900 Frigidaire Pipe Manifold |
| 2A | 5303935308 Frigidaire Oven Valve |
| 2C | 5303935305 Frigidaire Oven Valve |
| 2 | 5303935306 Frigidaire Oven Valve |
| 3 | 316219019 Frigidaire Wiring Harness |
| 8 | 5304505695 Frigidaire Oven Module |
| 10C | 316558300 Frigidaire Oven 9.5L Sealed Burner |
| 10A | 316438200 Frigidaire Range Sealed Burner, 5K |
| 10 | 316438000 Frigidaire Sealed Burner 12K Assembly |
| 11 | 316536608 Frigidaire Orifice Igniter Assembly |
| 11C | 316536600 Frigidaire Igniter Assembly |
| 11D | 316536602 Frigidaire Oven Igniter/Orifice Assembly |
| 11A | 316536610 Frigidaire Igniter Assembly/Orifice |
| 12 | 316540900 Frigidaire Oven Screw |
| 13 | 5304513126 Frigidaire Oven Tube |
| 14 | 5304521339 Frigidaire Regulator |
| 15 | 316091600 Frigidaire Oven Bracket |
| 16 | 316065006 Frigidaire Tube P1 |
| 17 | 3203459 Frigidaire Oven Range Dual Gas Safety Valve |
| 18 | 316114300 Frigidaire Oven Burner |
| 19 | 5304509706 Frigidaire Range Oven Igniter |
| 20 | WCI 316496001 |
| 21 | 5303013272 Frigidaire Oven Nut |
| 37 | 316240600 Frigidaire Igniter Mounting Screw |
| 44A | 316527502 Frigidaire Oven Orifice |
| 44C | 316527500 Frigidaire Oven Burner Orifice |
| 44B | 316527504 Frigidaire Oven Orifice |
| 47 | GRLP3 Frigidaire Oven LP Conversion Kit |
| 48 | WCI 3018603 |
| 49 | WCI 316416300 |