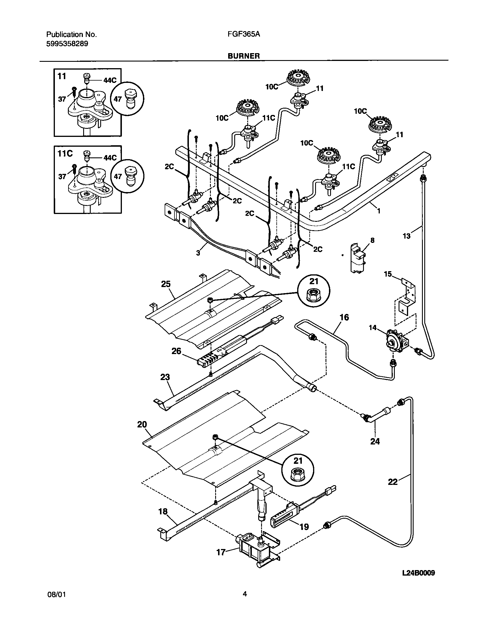
FGF365ASA 05 – BURNER