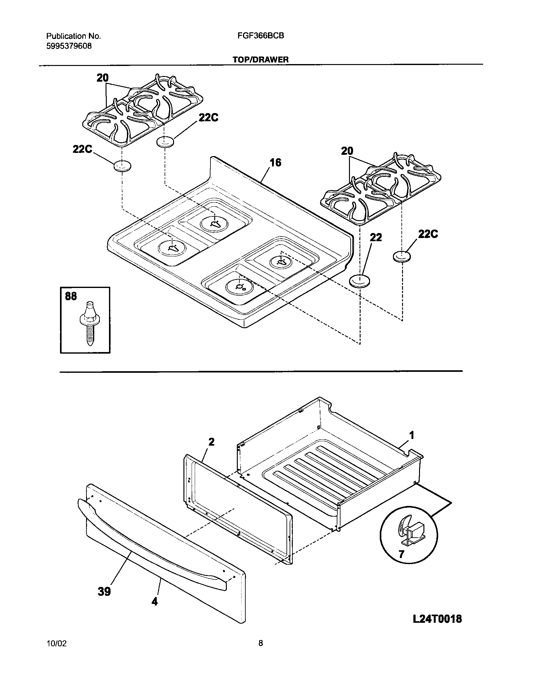
FGF366BCB 09 – TOP/DRAWER