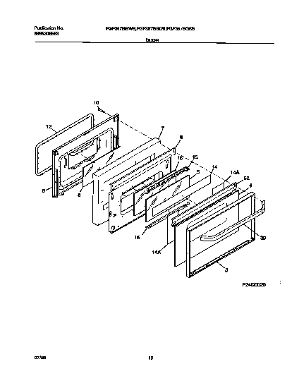
FGF367BGWB 06 – DOOR