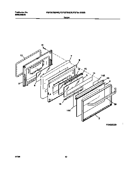
| *38916 | 5303285179 Frigidaire Oven Door Screw |
| *38914 | 5303271648 Frigidaire Oven Screw |
| *38913 | WCI 316065301 |
| *38912 | 316021109 Frigidaire Oven Screw |
| *38911 | 316008401 Frigidaire Washer P-1 |
| *38915 | WCI 5303280311 |
| 3 | WCI 316067804 |
| 4 | WCI 316089005 |
| 5 | WCI 316088700 |
| 6 | WCI 316088401 |
| 7 | WCI 316076403 |
| 8 | GLASS-OVEN DOOR, AIRWASH |
| 9 | WCI 316066610 |
| 10 | WCI 5303280308 |
| 12 | 5303131601 Frigidaire Oven Seal |
| 14 | ALUM FOIL-B/G GLASS |
| 14 | 5303208655 Frigidaire Reflector Assembly |
| 15 | WCI 316081403 |
| 16 | WCI 316085701 |
| 39 | 5304530039 Frigidaire Handle Set |
| 52 | WCI 316081301 |