| *85814 | SCREW, CR PAN HD SEMS, 8-32BP X 1.00 |
| *85817 | 5303285179 Frigidaire Oven Door Screw |
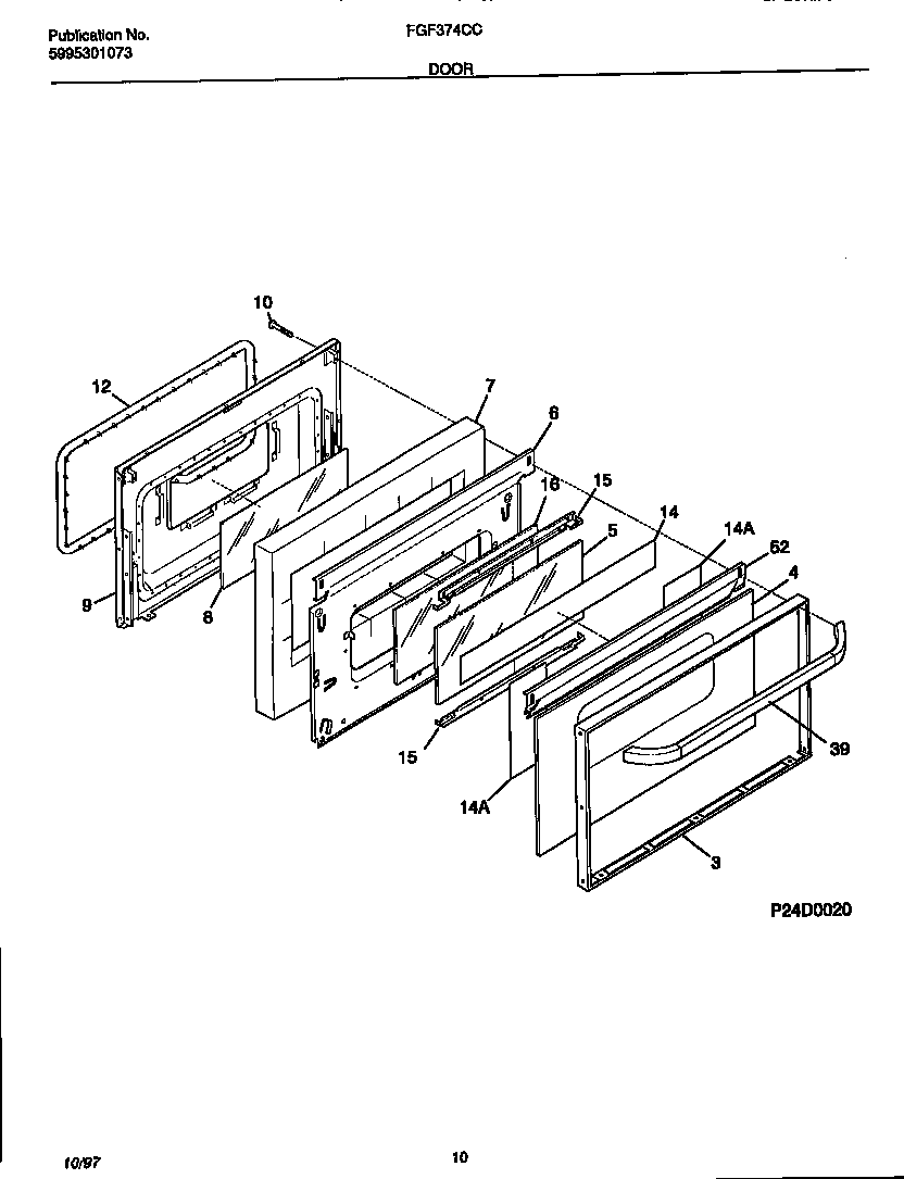
| *85815 | 5303271648 Frigidaire Oven Screw |
| *85813 | WCI 316065301 |
| *85818 | 131243700 Frigidaire Screw |
| *85816 | WCI 5303280311 |
| 3 | WCI 316067804 |
| 4 | WCI 316089005 |
| 5 | WCI 316088700 |
| 6 | WCI 316088401 |
| 7 | WCI 316076403 |
| 8 | GLASS-OVEN DOOR, AIRWASH |
| 9 | WCI 316066610 |
| 10 | WCI 5303280308 |
| 12 | 5303131601 Frigidaire Oven Seal |
| 14 | ALUM FOIL-B/G GLASS |
| 14 | 5303208655 Frigidaire Reflector Assembly |
| 15 | WCI 316081401 |
| 16 | WCI 316085700 |
| 39 | 316008401 Frigidaire Washer P-1 |
| 39 | 5304530039 Frigidaire Handle Set |
| 52 | WCI 316081301 |