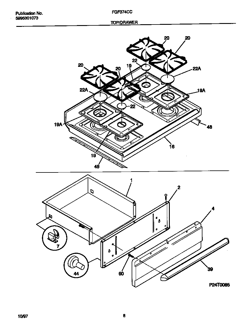
FGF374CCSJ 05 – TOP/DRAWERadmin2025-04-26T10:55:21+00:00FGF374CCSJ 05 – TOP/DRAWER
Products
| Position | Product |
|---|
| *85807 | RIVET-POP, WARING-PLATE |
| *85812 | 131243700 Frigidaire Screw |
| *85811 | WCI 5303280311 |
| *85810 | Clip,wiring harness ,green ,main top |
| *85809 | Screw,cup pt ,8-18 x 0.375 ,chrome |
| *85808 | 316021105 Frigidaire Oven Screw |
| 1 | DRAWER-UTILITY |
| 2 | SHIELD-PNL |
| 4 | PANEL-BROILER, WHITE |
| 7 | 3051163 Frigidaire Oven Range Rear Broiler Drawer Glide |
| 16 | WCI 5303307709 |
| 19 | Pan-burner,large ,gray |
| 19 | WCI 316011413 |
| 20 | GRATE,GRAY ,(4) |
| 22 | CAP-BURNER, DARK GRAY, (4) |
| 22 | CAP-BURNER, GRAY, LARGE, (1) |
| 39 | WCI 316026103 |
| 44 | 3131903 Frigidaire Door/Drawer Bumper |
| 48 | Shield,deflector ,main top panel ,(2) |
| 60 | WCI 5303288574 |