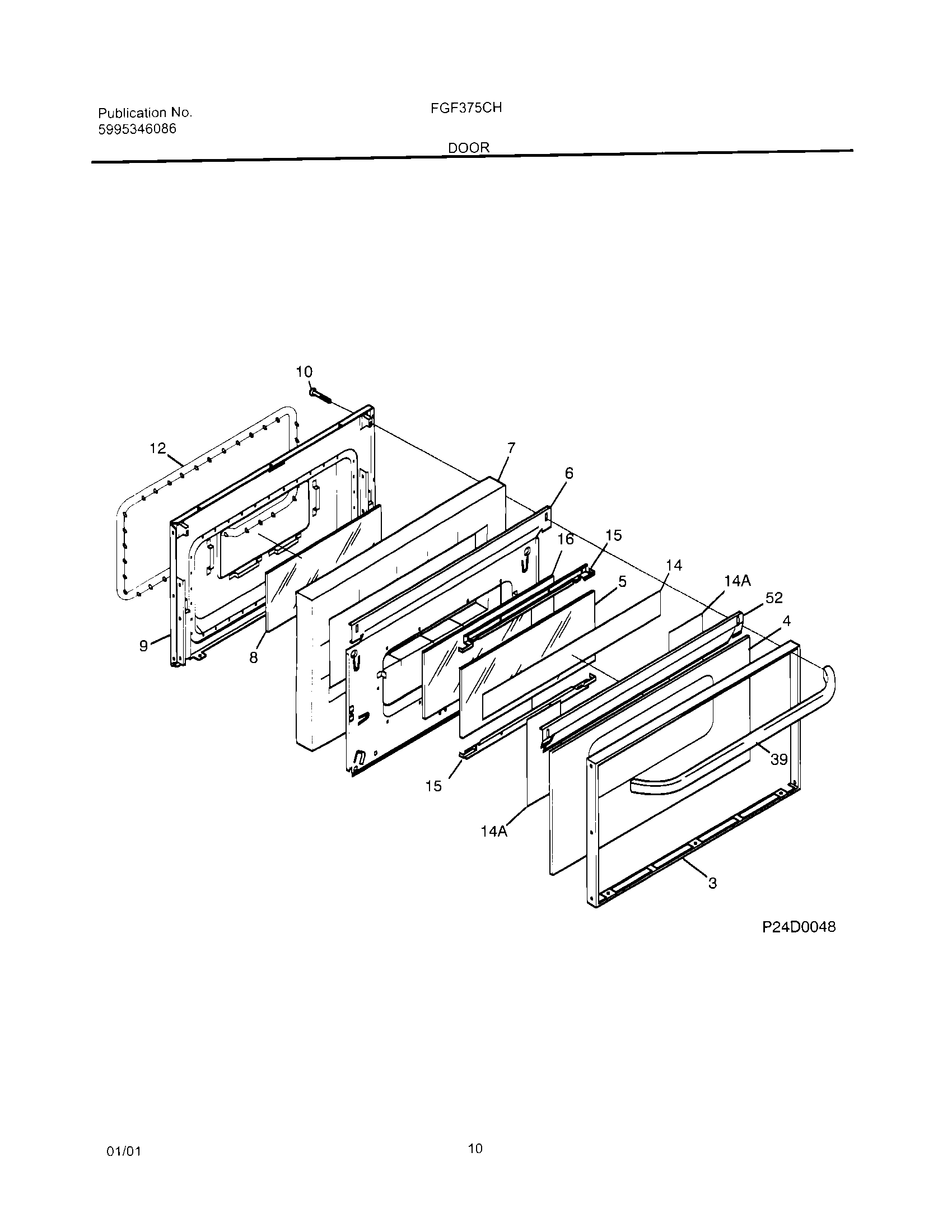
FGF375CHSC 11 – DOOR