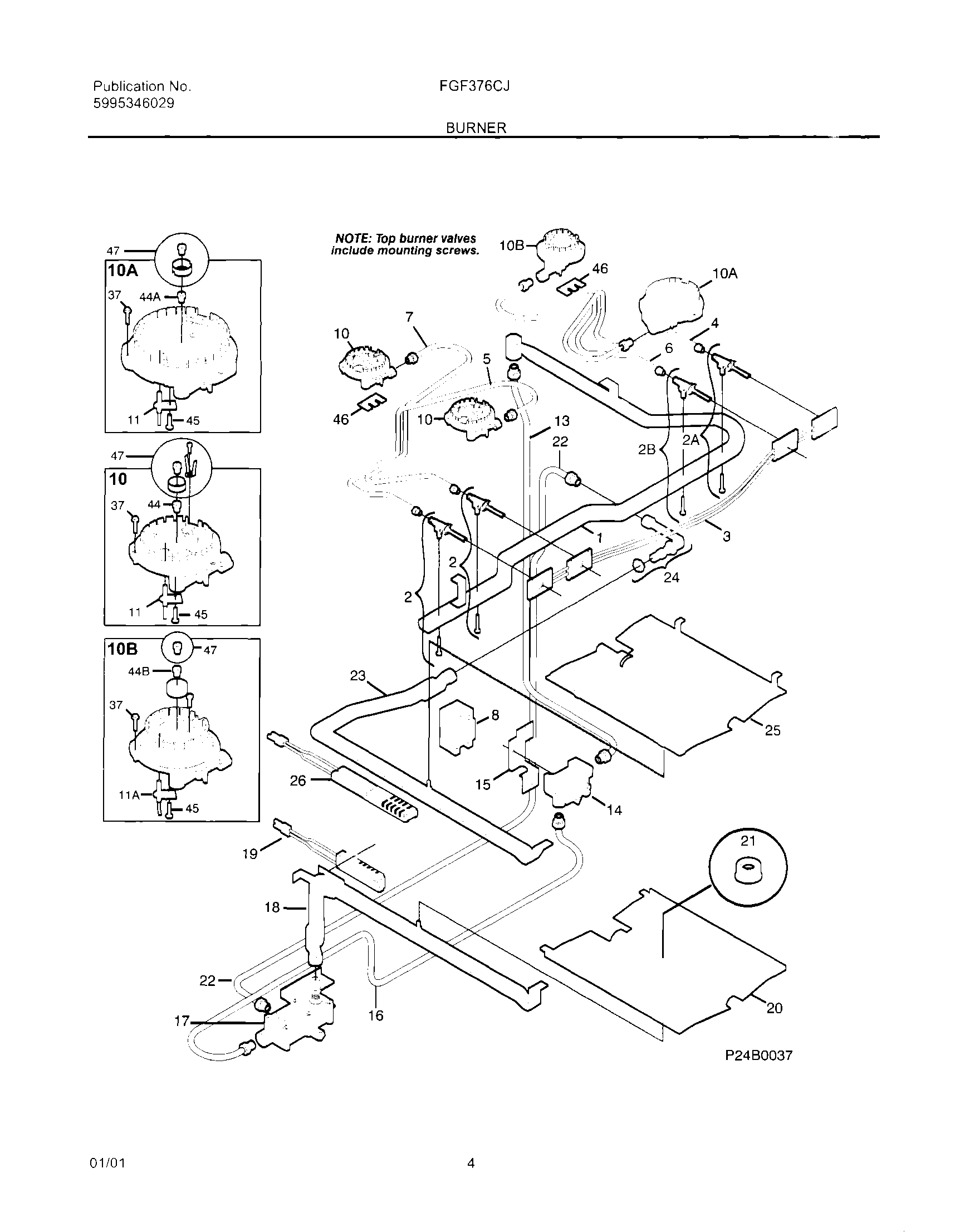
FGF376CJBB 05 – BURNER