FGF376CJBB 09 – TOP/DRAWERadmin2025-04-26T10:26:59+00:00FGF376CJBB 09 – TOP/DRAWER
Products
| Position | Product |
|---|
| NI | 316021105 Frigidaire Oven Screw |
| NI | 316021109 Frigidaire Oven Screw |
| NI | Screw,cup pt ,8-18 x 0.375 ,chrome |
| NI | WCI 316089600 |
| NI | WCI 5303280311 |
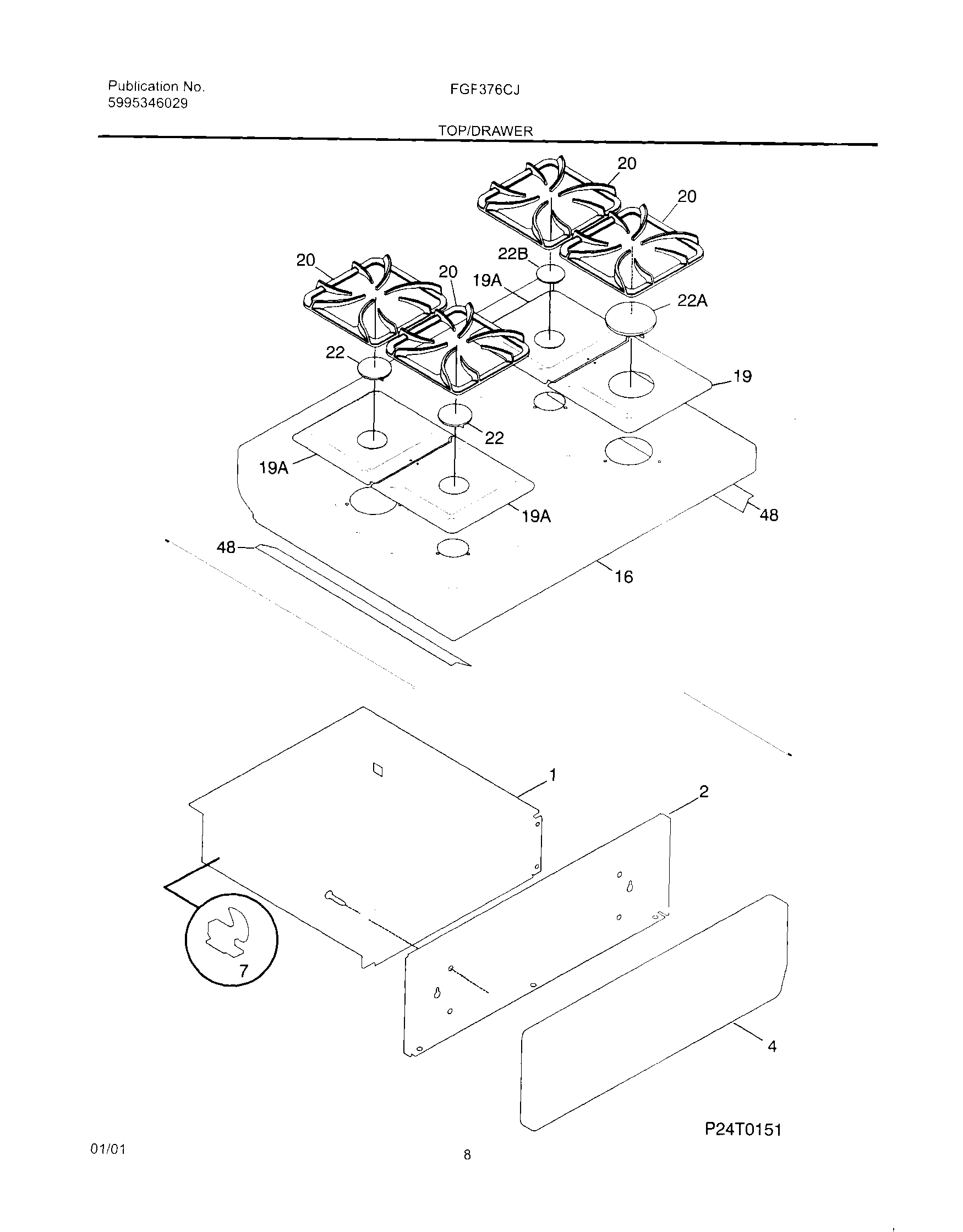
| 1 | DRAWER-UTILITY |
| 2 | WCI 5303288582 |
| 4 | WCI 316084407 |
| 7 | 3051163 Frigidaire Oven Range Rear Broiler Drawer Glide |
| 16 | WCI 316114803 |
| 19 | WCI 316011401 |
| 19 | Pan-burner,large ,black |
| 20 | Grate,black ,(4) |
| 22 | CAP-BURNER,BLACK ,LARGE |
| 22 | WCI 316118800 |
| 22 | Cap-burner,small ,black ,(4) |
| 48 | Shield,deflector ,main top panel ,(2) |