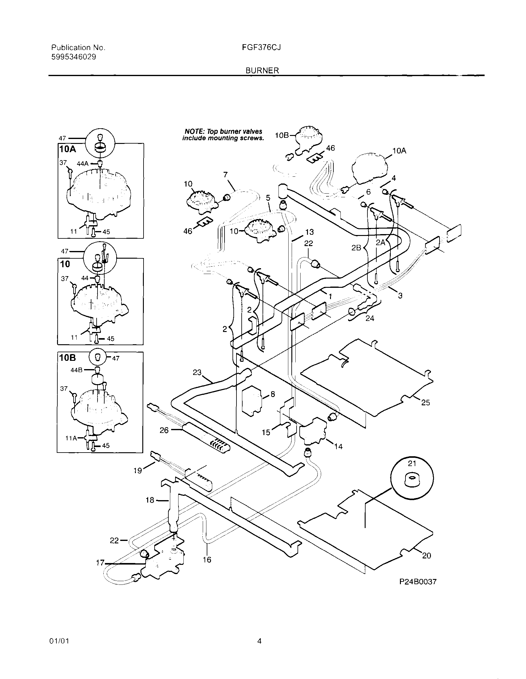
FGF376CJTB 05 – BURNER