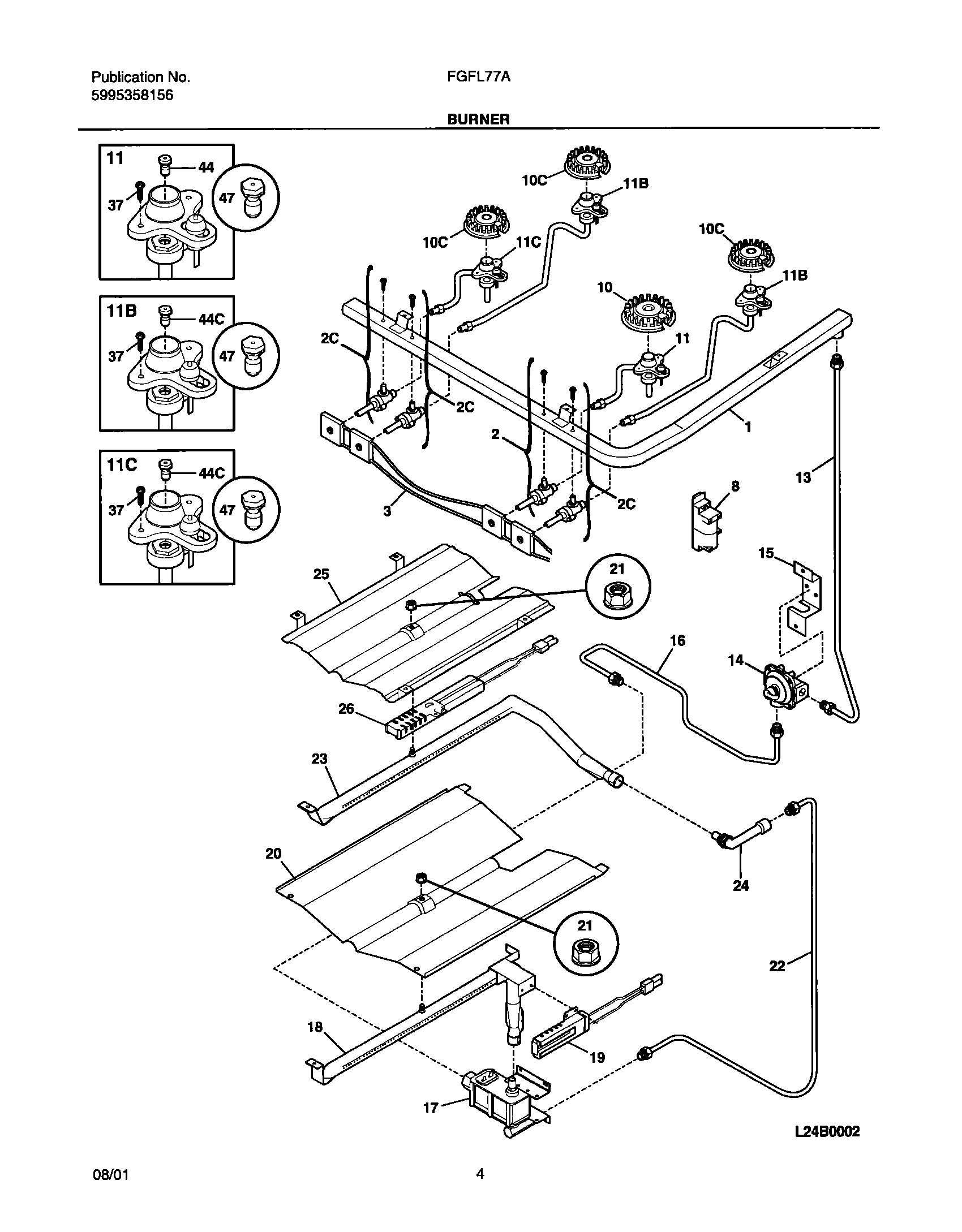
FGFL77ABB 05 – BURNER