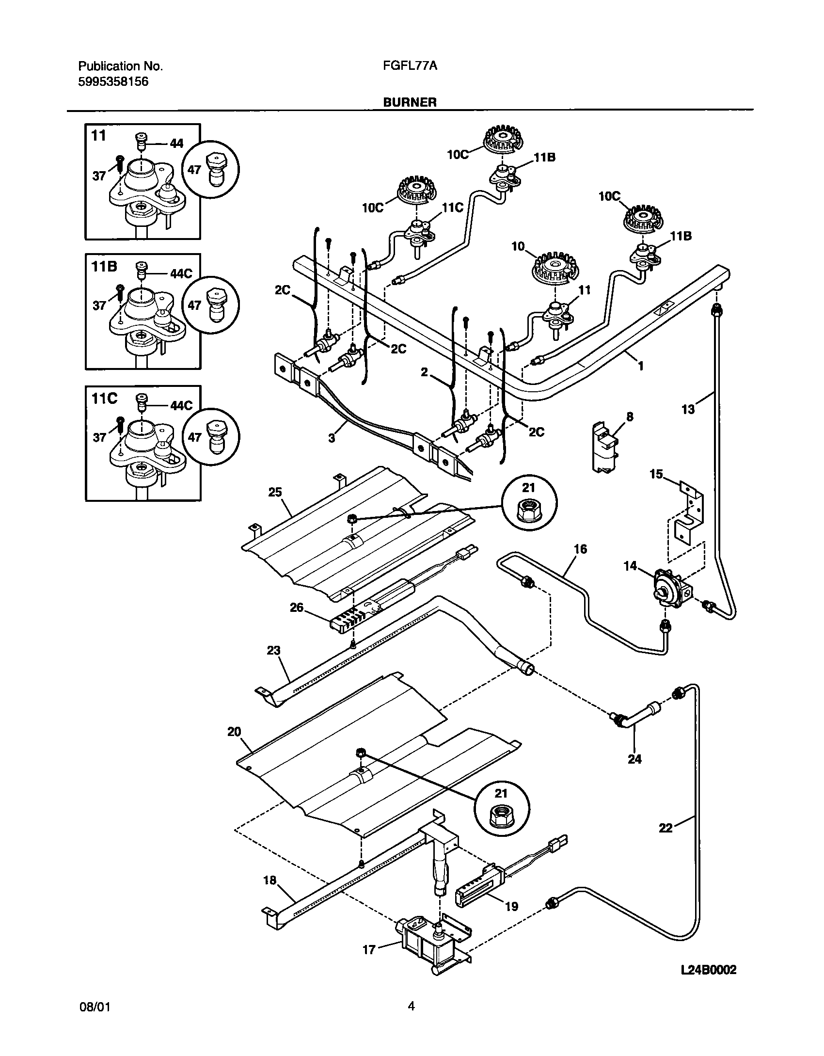
FGFL77AQB 05 – BURNER