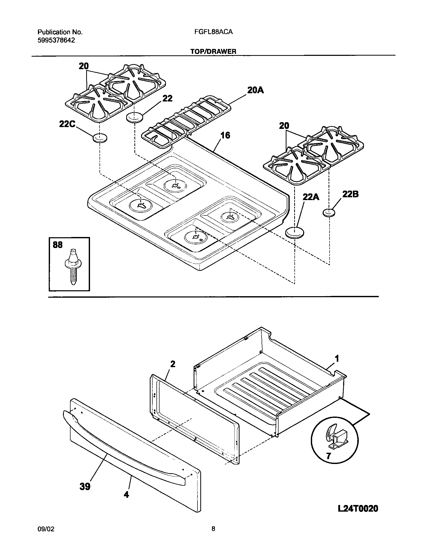
FGFL88ACA 09 – TOP/DRAWER