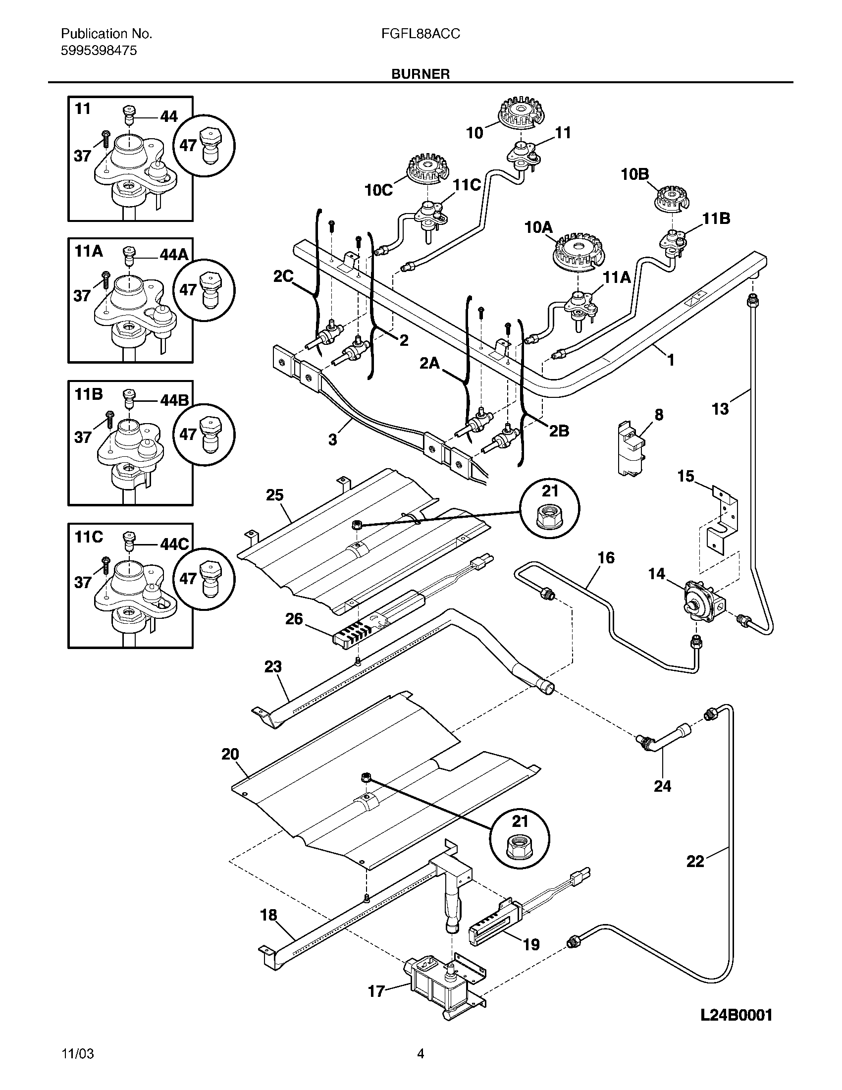
FGFL88ACC 05 – BURNER