FGHB2844LE5 15 – ICE CONTAINER

FGHB2844LE5 15 – ICE CONTAINER

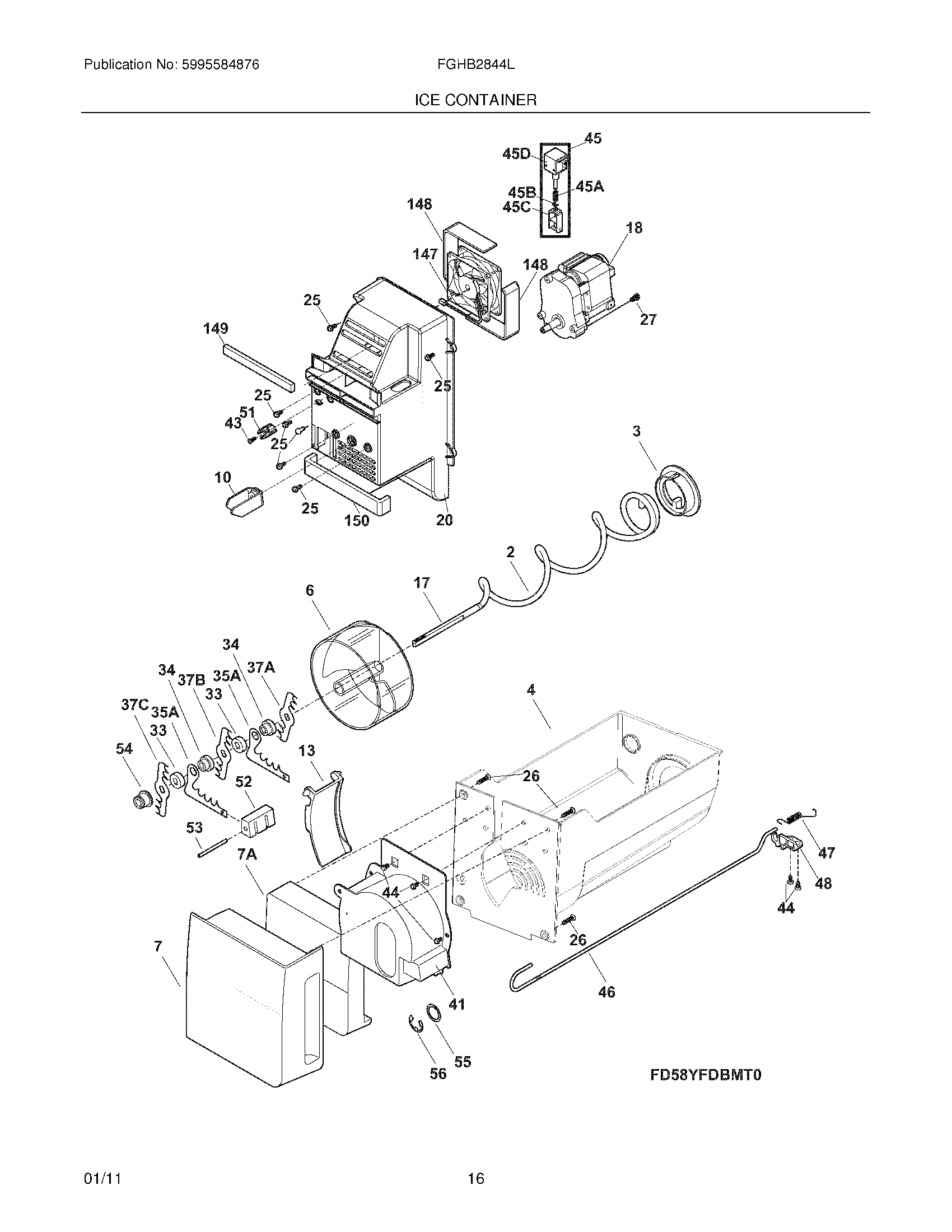
Products

PositionProduct
NI242093003 Frigidaire Refrigerator Ice Container Assembly
NI242095804 Frigidaire Refrigerator Wiring Harness
2AUGER-ICE
3CAM-DRIVE
4242093101 Frigidaire Refrigerator Ice Container
6241829802 Frigidaire Drum Ice Dispenser
7COVER, BUCKET FRONT
7AINSULATION, I/CONTAINER FRT
10241829001 Frigidaire Refrigerator Bar Drive
13242106201 Frigidaire Refrigerator Gate
17DRIVE BLADE
18241816602 Frigidaire Refrigerator Motor-AUGER
20242095702 Frigidaire Refrigerator Air Handler Housing
25240555002 Frigidaire Refrigerator Screw #8-32 X 3/8
26242015001 Frigidaire Refrigerator Screw
33241684802 Frigidaire Refrigerator Spacer
34241689802 Frigidaire Refrigerator Spacer
35AFIXED BLADE, ROUND
37CBLADE, CRUSHER #3
37BBLADE, CRUSHER #2
37ABLADE, CRUSHER #1
41242093301 Frigidaire Refrigerator Crusher Housing
43241641502 Frigidaire Refrigerator Screw
445304453707 Frigidaire Oven Screw
45D241675803 Frigidaire Refrigerator Freezer Ice Dispenser Solenoid
45A241675902 Frigidaire Refrigerator Solenoid Spring
45241675704 Frigidaire Refrigerator Solenoid Assembly
45B241676001 Frigidaire Refrigerator E-Ring Solenoid
45C241676101 Frigidaire Refrigerator Solenoid-Actuator
46CONTROL ROD
47241839001 Frigidaire Refrigerator Spring-Control Rod
48241830101 Frigidaire Refrigerator Bracket-Control
51242095501 Frigidaire Refrigerator Anti-Twist Buck Pin
52SPACER-FIXED BLADES
53241869601 Frigidaire Refrigerator Pin
54241829601 Frigidaire Refrigerator Nut-Auger
55241690306 Frigidaire Refrigerator Washer
56241690201 Frigidaire Refrigerator E-Ring
1475304493604 Frigidaire Refrigerator Gasket & Fan Kit
148242095406 Frigidaire Refrigerator Gasket
1495303918784 Frigidaire Refrigerator Air Handler Housing