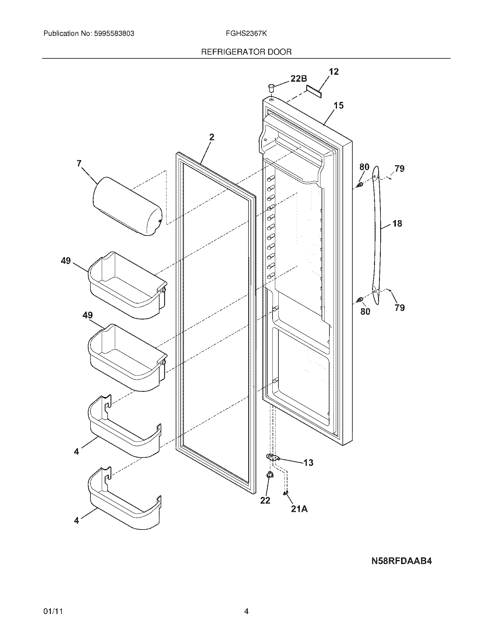
FGHS2367KE3 05 – REFRIGERATOR DOORadmin2025-04-26T10:35:12+00:00FGHS2367KE3 05 – REFRIGERATOR DOOR ProductsPositionProductNI5304467131 Frigidaire Refrigerator Wrench2GASKET-DOOR42 LITER DOOR BIN7240338313 Frigidaire Refrigerator Dairy Door12242015201 Frigidaire Nameplate13241942603 Frigidaire Refrigerator Stop-Door/Ff Black15WCI 24183728318241930103 Frigidaire Door Handle21A240442708 Frigidaire Refrigerator Screw-#10-32 X 3/422241990301 Frigidaire Hinge Bearing22B241760404 Frigidaire Refrigerator Bearing49240324502 Frigidaire Gallon Door Shelf Bin79218755405 Frigidaire Refrigerator Screw Set80218755504 Frigidaire Refrigerator Shoulder Screw