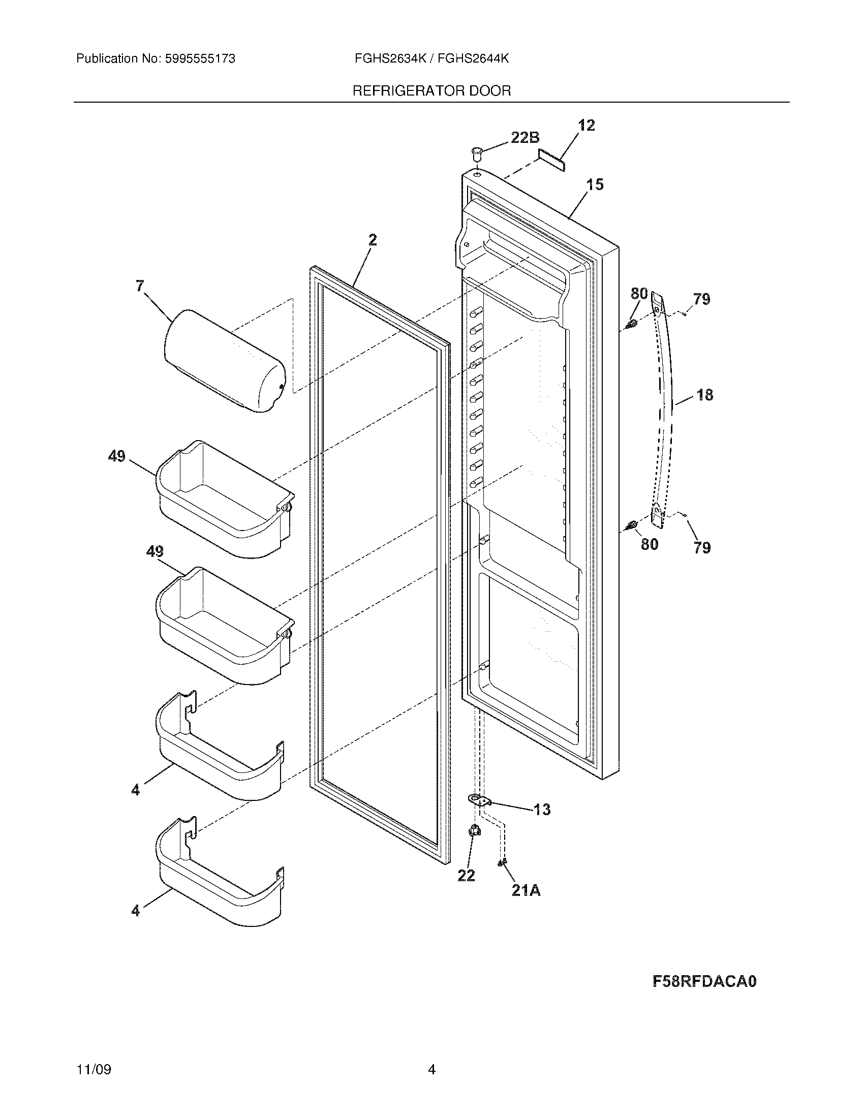
FGHS2644KF1 05 – REFRIGERATOR DOOR