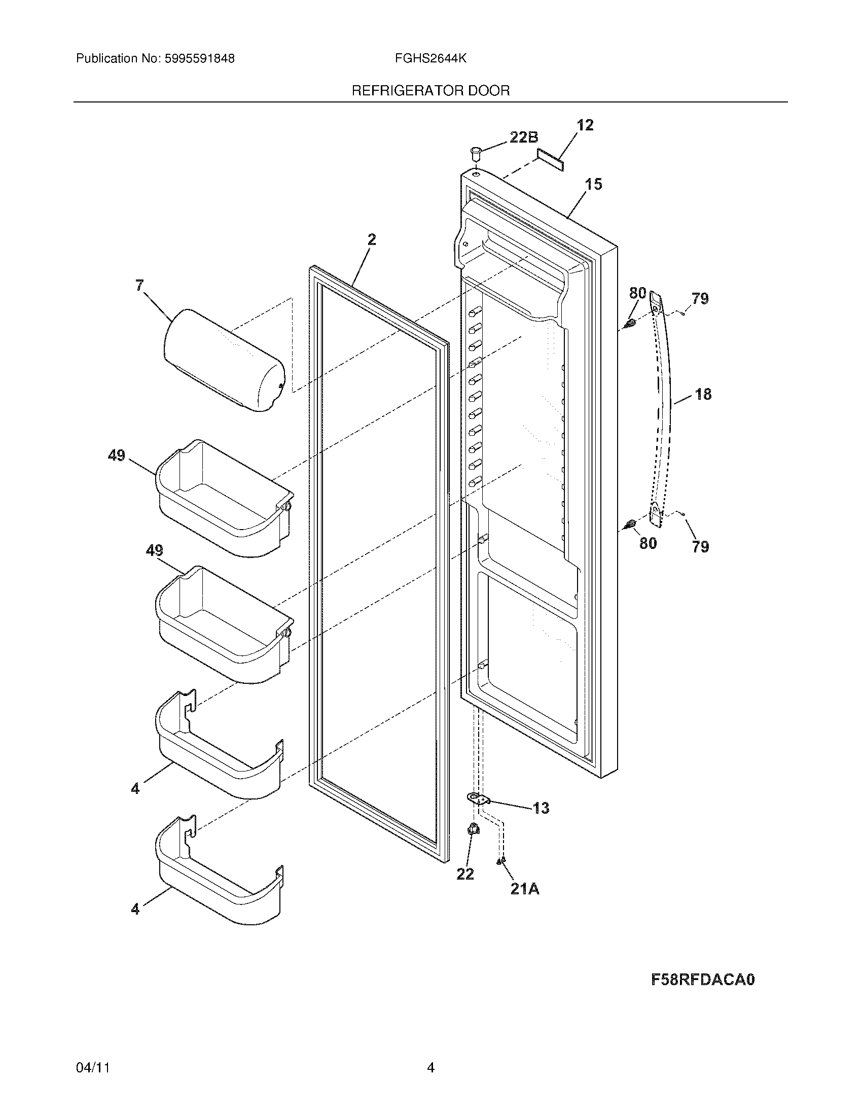
FGHS2644KM3 05 – REFRIGERATOR DOORadmin2025-04-26T10:34:48+00:00FGHS2644KM3 05 – REFRIGERATOR DOOR ProductsPositionProduct2241786013 Frigidaire Refrigerator Door Gasket4240323001 Frigidaire Refrigerator Bottom Pseudo Door Bin7WCI 24032620312242015201 Frigidaire Nameplate13241942603 Frigidaire Refrigerator Stop-Door/Ff Black15WCI 24183729418241930101 Frigidaire Refrigerator Door Handle Stainless Steel (for Freezer or Fresh Food Section)21A240442708 Frigidaire Refrigerator Screw-#10-32 X 3/422241990301 Frigidaire Hinge Bearing22B241760403 Frigidaire Refrigerator Bearing49240356402 Frigidaire Refrigerator Gallon Door Bin79218755405 Frigidaire Refrigerator Screw Set80218755504 Frigidaire Refrigerator Shoulder Screw