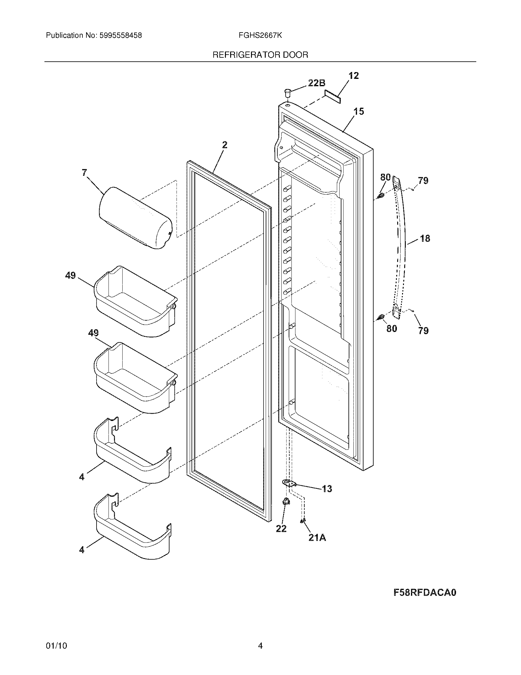
FGHS2667KB2 05 – REFRIGERATOR DOORadmin2025-04-26T10:34:28+00:00FGHS2667KB2 05 – REFRIGERATOR DOOR ProductsPositionProductNI5304467131 Frigidaire Refrigerator Wrench2241786013 Frigidaire Refrigerator Door Gasket4240323002 Frigidaire Bottom Clear Door Bin7WCI 24032620312242015201 Frigidaire Nameplate13241942603 Frigidaire Refrigerator Stop-Door/Ff Black15WCI 24183726218241930103 Frigidaire Door Handle21A240442708 Frigidaire Refrigerator Screw-#10-32 X 3/422241990301 Frigidaire Hinge Bearing22B241760404 Frigidaire Refrigerator Bearing49240356402 Frigidaire Refrigerator Gallon Door Bin79218755405 Frigidaire Refrigerator Screw Set80218755504 Frigidaire Refrigerator Shoulder Screw