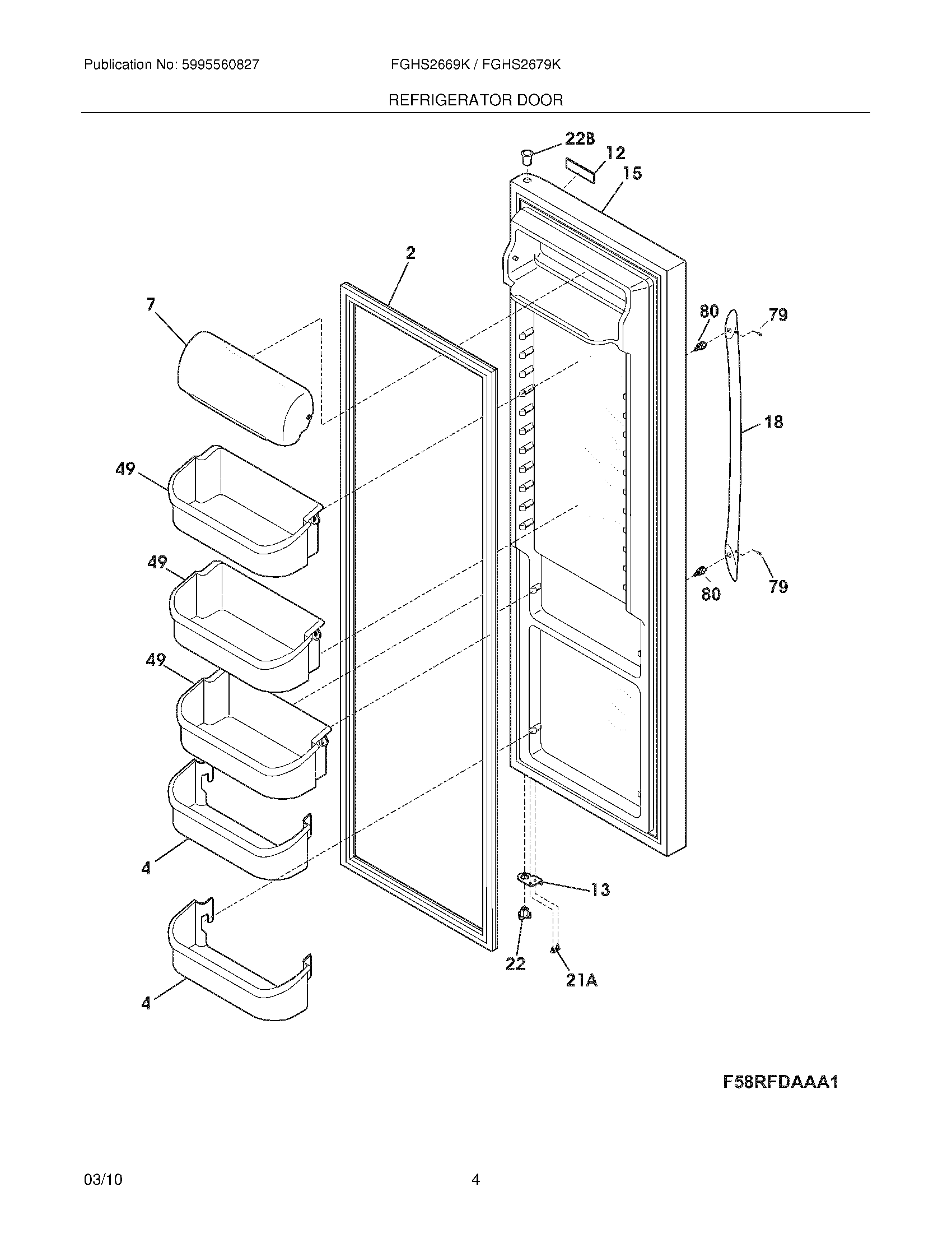
FGHS2669KP2 05 – REFRIGERATOR DOORadmin2025-04-26T10:36:05+00:00FGHS2669KP2 05 – REFRIGERATOR DOOR ProductsPositionProductNIWCI 241780403NI5304467131 Frigidaire Refrigerator Wrench2241786001 Frigidaire Door Gasket4240323002 Frigidaire Bottom Clear Door Bin7WCI 24032620312242015201 Frigidaire Nameplate13241942603 Frigidaire Refrigerator Stop-Door/Ff Black15WCI 24183726418297437820 Frigidaire Refrigerator Door Handle21A240442708 Frigidaire Refrigerator Screw-#10-32 X 3/422241990301 Frigidaire Hinge Bearing22B241760403 Frigidaire Refrigerator Bearing49240356402 Frigidaire Refrigerator Gallon Door Bin79218755402 Frigidaire Refrigerator Set Screw80218755504 Frigidaire Refrigerator Shoulder Screw