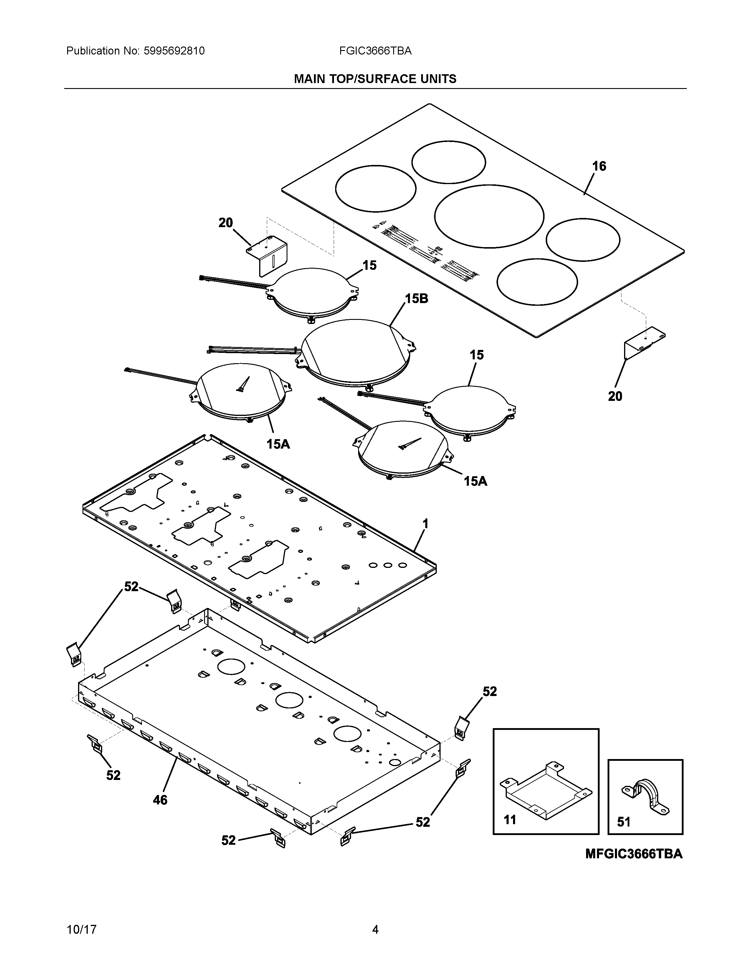
FGIC3666TBA 03 – MAIN TOP/SURFACE UNITS