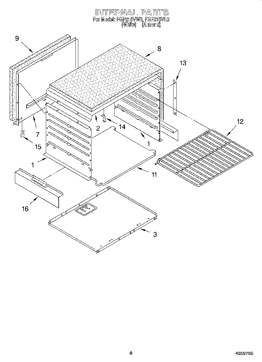
| 1 | Liner, Oven Side (2) |
| 1 | Screw |
| 2 | Liner, Oven Top |
| 3 | Baffle, Bottom |
| 7 | Frame, Front |
| 8 | WPW10208653 Whirlpool Insulation |
| 9 | Insulation, Oven Back |
| 11 | Bottom, Oven |
| 12 | Rack, Oven |
| 13 | Support, Liner (2) |
| 14 | 98005642 Whirlpool Clip |
| 15 | WP308685 Whirlpool Microwave Screw |
| 15 | Clip, Speed |
| 16 | Shield, Radiation |