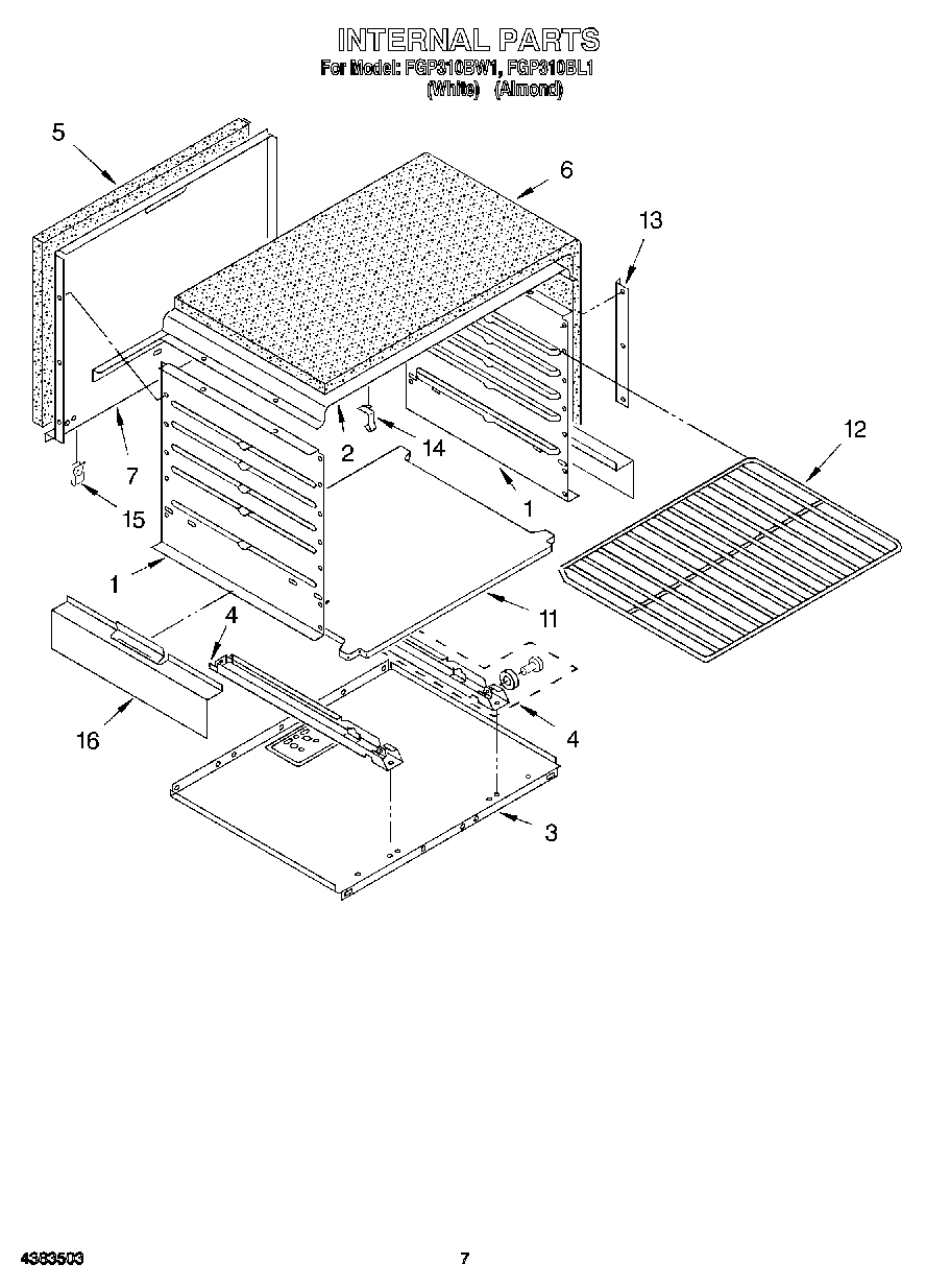
FGP310BL1 05 – INTERNAL