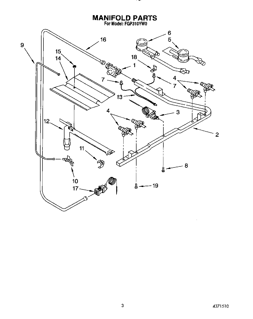
FGP310YL0 03 – MANIFOLD